Uso de los bloques estabilizadores
Para reducir al mínimo el movimiento lateral del enganche,
instale los bloques estabilizadores (A) en la posición inferior.

RXA0052493-UN-28MAR01
Bloques estabilizadores en posición inferior

RXA0090041-UN-04AUG06
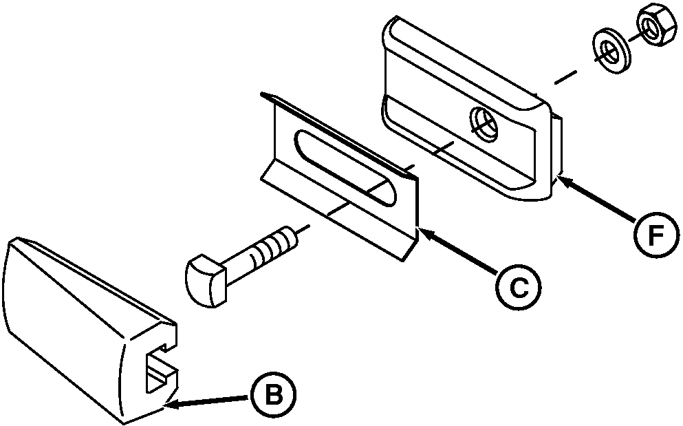
Instalación del suplemento entre el amortiguador
y el distanciador

RXA0089661-UN-04AUG06
Distancia entre neumáticos
A - Bloques estabilizadores
B - Paragolpes
C - Suplemento
D - Distancia libre entre neumáticos y cabina
E - Distancia entre neumáticos
F - Distanciador
Ajuste el amortiguador (B) aflojando la contratuerca y deslizándolo
hacia delante o hacia atrás lo necesario para limitar el balanceo.
Monte los bloques estabilizadores en la posición superior
si desea permitir la oscilación lateral con el enganche bajado.
Se evitará la oscilación lateral cuando el enganche
se eleve.
NOTA: Use los suplementos que necesite para obtener el control
de oscilación deseado. Los suplementos puede pedírselos
a su concesionario John
Deere.
Si no se tiene suficiente margen de ajuste en el amortiguador
para eliminar la oscilación del enganche, coloque los suplementos
necesarios entre el amortiguador y el distanciador (F).
IMPORTANTE: Debe haber un espacio libre (D) de por lo menos 25
mm (1 in.) entre los neumáticos y los guardabarros. Para evitar
la interferencia con el brazo de tiro, asegúrese de que la
distancia (E) entre los neumáticos sea de:
-
Enganche categoría 3N—1,09 m (43 in.)
-
Enganche categoría 3—1,17 m (46 in.)
-
Enganche categoría 4N—1,17 m (46 in.)
|
John Deere es una marca comercial de Deere &
Company
|
OURX935,000047F-63-20090404
|
|