Conexión del accesorio al acoplador rápido

RXA0078885-UN-08FEB05
Manilla de bloqueo del enganche

RXA0101042-UN-19MAR09
Palanca
A - Palanca de cierre del acoplador
B - Palanca de mando del enganche
ATENCIÓN: Para evitar la posibilidad de lesiones personales o
daños a la máquina:
-
Ponga la transmisión en posición de ESTACIONAMIENTO
y vea si al conectar un apero hay interferencias, atascamiento o separación
de la TDF en algún punto de todo el recorrido.
-
Asegúrese de que el apero está correctamente fijado.
Una conexión incorrecta puede permitir que el accesorio sea
tirado sobre una rueda del tractor y hacia el puesto del operador.
-
No se sitúe entre el tractor y el apero.
-
Tire hacia arriba de las palancas de cierre del acoplador (A).
-
Bajar el enganche hasta que los ganchos del enganche rápido
estén por debajo de los bulones de enganche del apero.
-
Haga retroceder el tractor hasta el apero.
-
Subir el elevador lo suficiente para enganchar los pasadores
del apero en los ganchos.
-
Empuje las palancas de cierre del acoplador hacia abajo para
fijar el apero al acoplador rápido.
-
Conecte las mangueras hidráulicas y las conexiones eléctricas.
-
Tire lentamente de la palanca de mando del enganche (B) para
elevar el apero. Bajar el apero al suelo y ajustar el mando del límite
de elevación, si fuera necesario.
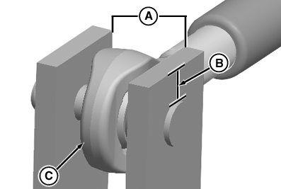
IMPORTANTE: Si el tensor central está fijado directamente
al apero, mida la abertura superior del brazo elevador (A) y la altura
por encima del bulón (B). Si la abertura del brazo elevador
superior es mayor que 70 mm (2.8 in.), o la altura por encima
del bulón es menor a 14 mm (0.6 in.), utilice arandelas de
suplemento para limitar/restringir el giro de la horquilla (C).

RXA0086593-UN-09FEB06
Brazo elevador de apero
A - Distancia
B - Distancia
C - Horquilla
-
Si se conecta un enganche de la categoría 4N, utilice
una combinación de suplementos a ambos lados del pivote del
tensor central.
|
|
OURX935,000070A-63-20090320
|
|