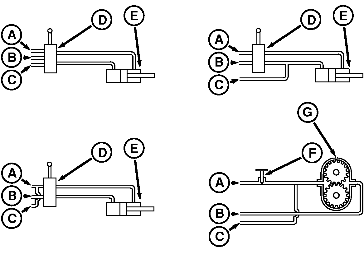
Ejemplos de uso del sistema hidráulico con presión
sensora de carga—Toma hidráulica
exterior

RXA0085800-UN-10JAN06
Ejemplos de uso del sistema hidráulico con
presión sensora de carga—Toma hidráulica exterior
A - Tubería de presión
B - Tubería de retorno
C - Línea sensora de carga
D - Válvula de mando
E - Cilindro.
F - Válvula de caudal con compensación
de presión
G - Motor hidráulico
Arriba, izquierda —Las válvulas
de control con detección de carga envían una señal
sensora de carga al sistema hidráulico y pueden ser accionadas
manualmente o por electroválvulas.
Arriba, derecha —La válvula
de control dirige el aceite hacia los circuitos de extensión
o de retracción. Conectar la línea sensora de carga
al circuito que demande presión. Un ejemplo de ello es un cilindro
elevador de remolque con carga sostenida por topes mecánicos
en la posición de límite de descenso. La señal
de detección de carga indica a la bomba cuando se necesita
presión adicional. Si no se necesita presión, ésta
se mantendrá baja.
IMPORTANTE: El circuito permite la bajada en fuga progresiva
del cilindro mediante la línea sensora de carga (C). Si este
nivel de “fuga” no es aceptable para su funcionamiento,
recurra al ejemplo 3.
Abajo, izquierda—La válvula
de control dirige el aceite hacia los circuitos de extensión
o de retracción, según cual sea el que demande alta
presión. Conectar la línea sensora de carga a la línea
de presión antes de la válvula de mando.
NOTA: El sistema mantendrá una presión máxima
de 20000 kPa (200 bar) (2900 psi) mientras las mangueras de toma exterior
estén conectadas.
Un ejemplo común es un apero plegable, que requiere presión
para extender o retraer los cilindros.
Abajo, derecha—Se usa una
válvula de control de caudal con compensación de presión
para regular la velocidad del motor hidráulico. Conectar la
línea sensora de carga a la línea de presión
después de la válvula de mando.
NOTA: La velocidad del motor puede fluctuar si otras funciones
provocan cambios de presión en el sistema. Para reducir las
fluctuaciones, instalar una válvula de control de caudal con
compensación de presión.
|
|
OURX935,0000853-63-20090122
|
|