Ajustes de rueda de ocho posiciones
ATENCIÓN: Evitar el riesgo de lesiones. Si la secuencia de apriete
y el procedimiento no se ejecutan en el orden correcto, se pueden
producir daños en el equipo y sufrir lesiones. Los tornillos
de rueda son muy importantes y es necesario apretarlos regularmente.
NOTA: Las posiciones A - H se usan para todos los neumáticos
de 540 mm (20.8 in.) o menos.

RXA0062856-UN-01OCT02
Ajustes de llanta
NOTA: El ancho de vía se mide en la línea central
inferior del neumático.
Use el diagrama de la derecha como referencia para ajustar la
llanta y el disco hasta obtener el ancho de vía deseado.
Siguiendo un orden en cruz, apriete todos los tornillos entre
disco y llanta de modo que mantengan el par de apriete.
| Elemento | Medición | Especificación |
|
Tornillos de disco a llanta | Par de apriete | 310 Nm (230 lb-ft) |
Siguiendo un orden en cruz, apriete las tuercas entre disco
y cubo de modo que mantengan el par de apriete.
| Elemento | Medición | Especificación |
|
Tuercas entre disco y cubo | Par de apriete | 600 Nm (450 lb-ft) |
Vuelva a apretar los tornillos tras 3 horas y después
tras 10 horas de trabajo.
Apriete los tornillos diariamente durante la primera semana
de trabajo.
Ajuste los guardabarros y topes de la dirección según
se requiera usando las tablas y diagramas que figuran en las páginas
siguientes.

RXA0062368-UN-01OCT02
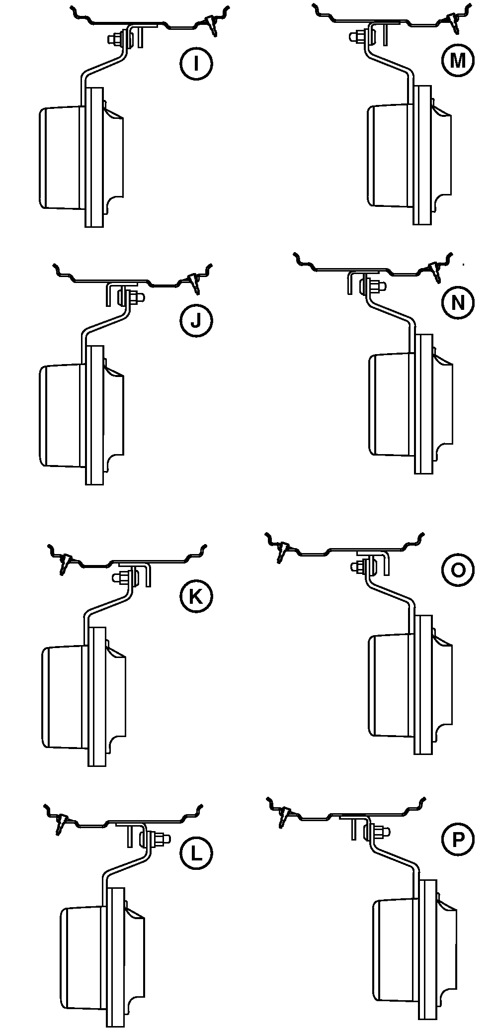
Ajustes de anchura de llantas
ATENCIÓN: Evitar el riesgo de lesiones. Si la secuencia de apriete
y el procedimiento no se ejecutan en el orden correcto, se pueden
producir daños en el equipo y sufrir lesiones. Los tornillos
de rueda son muy importantes y es necesario apretarlos regularmente.
NOTA: Las posiciones de I a P se usan para neumáticos
de 600 y 620 mm.
NOTA: El ancho de vía se mide en la línea central
inferior del neumático.
Use el diagrama de la derecha como referencia para ajustar la
llanta y el disco hasta obtener el ancho de vía deseado.
Siguiendo un orden en cruz, apriete todos los tornillos entre
disco y llanta de modo que mantengan el par de apriete.
| Elemento | Medición | Especificación |
|
Tornillos de disco a llanta | Par de apriete | 310 Nm (230 lb-ft) |
Siguiendo un orden en cruz, apriete las tuercas entre disco
y cubo de modo que mantengan el par de apriete.
| Elemento | Medición | Especificación |
|
Tuercas entre disco y cubo | Par de apriete | 600 Nm (450 lb-ft) |
Vuelva a apretar los tornillos tras 3 horas y después
tras 10 horas de trabajo.
Apriete los tornillos diariamente durante la primera semana
de trabajo.
Ajuste los guardabarros y topes de la dirección según
se requiera usando las tablas y diagramas que figuran en las páginas
siguientes.
|
|
OURX935,0000AC8-63-20090819
|
|