NOTA: Para reemplazar el cartucho del filtro y la junta de la
caja del filtro, consulte a su concesionario John Deere.
-
Apagar el motor.

RXA0089770-UN-14JUL06
Extracción de los tornillos

RXA0089818-UN-14JUL06
Extracción de la caja con resorte y el cartucho
del filtro

RXA0089773-UN-14JUL06
Empaquetadura
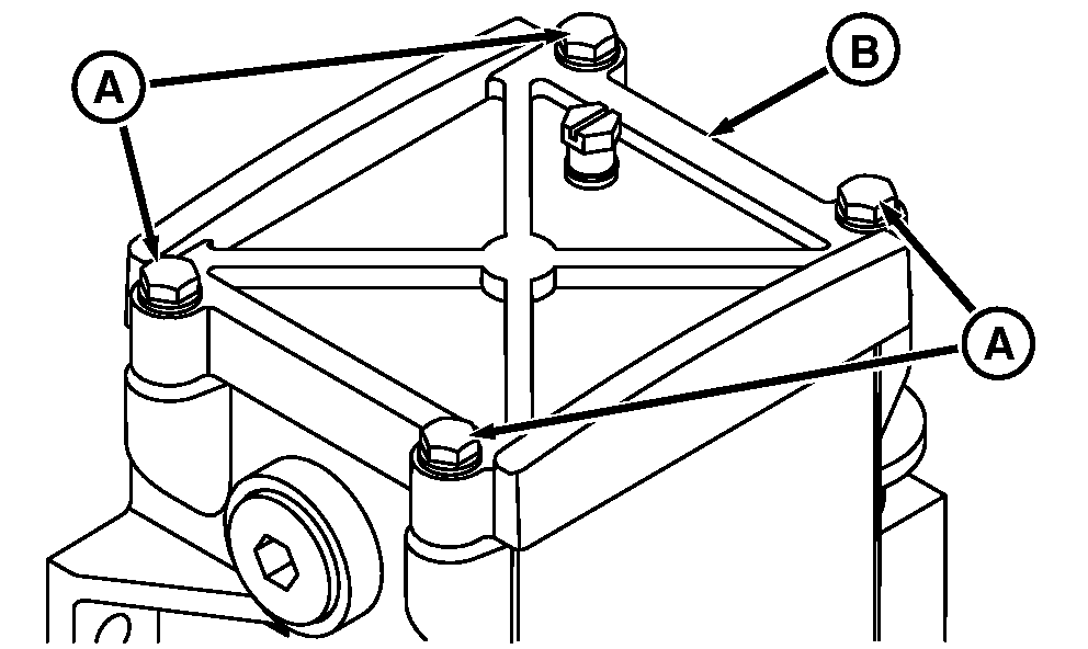
A - Pernos
B - Tapa
C - Cartucho con resortes
D - Manija
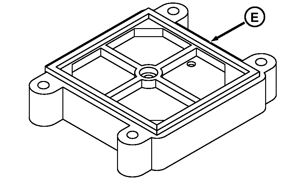
E - Empaquetadura
NOTA: Purgue el combustible en un recipiente adecuado y deséchelo
apropiadamente.
-
Abra la válvula de vaciado y vacíe el combustible
del recipiente.
-
Retire los tornillos (A) y la tapa (B).
-
Retire la caja con resorte (C).
-
Levante el cartucho del filtro por la manija (D).
-
Lave el filtro en combustible diésel limpio o con alcohol
mineral.
-
Vea si hay daños en el filtro. Si encuentra algún
daño, sustituya el filtro por uno nuevo.
-
Instale el cartucho del filtro.
-
Instale el casete con resorte.
-
Revise la junta de la tapa (E) y sustitúyala de ser necesario.
-
Instale el nuevo filtro, el casete con resorte, la tapa y los
tornillos. Apriete los tornillos con la mano.

RXA0089820-UN-14JUL06
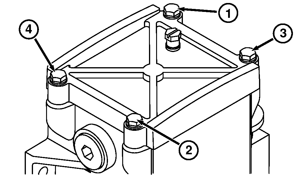
Instalar los pernos
-
Apriete los tornillos en la secuencia que se muestra en la figura.
-
Cebe el sistema de combustible y revise que no haya fugas.