Conexión de equipos electrónicos compatibles

RXA0104285-UN-11AUG09
Poste delantero derecho

RXA0099727-UN-06NOV08
Conector de apero en parte posterior del tractor

RXA0104663-UN-10SEP09
Conector ISO 11783 de consola derecha
A - Conector estándar ISO 11786 (poste derecho)
B - Conector GreenStar (poste izquierdo)
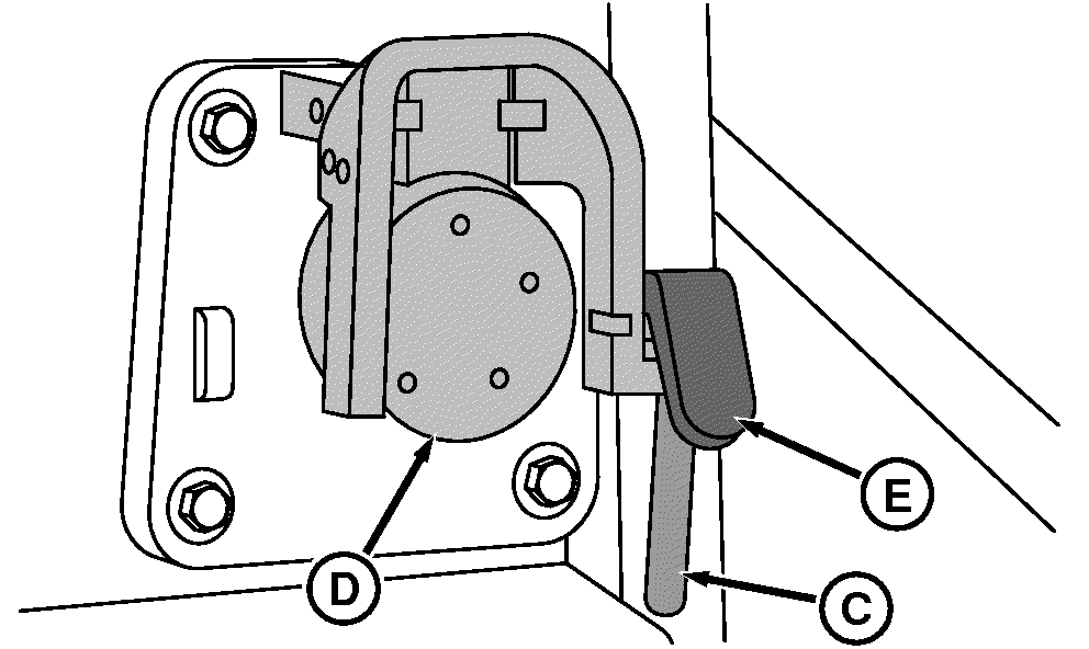
C - Manija
D - Conector de apero (parte posterior del tractor)
E - Mecanismo de liberación
F - Conector estándar ISO 11783 (consola derecha)
Todos los tractores de las series 8R y 8RT están adaptados
para ISOBUS e incorporan conexiones para aperos conformes a las normas
ISO 11786 y 11783. El conector ISO 11786 que aparece a la derecha
está pensado para una señal de velocidad de radar o
GPS. Consulte, en este apartado, “Configuración del tractor
para GPS y radar”.
El conector del poste GreenStar (B) permite conectar cualquier
pantalla GreenStar. Consulte a su concesionario John Deere para obtener información sobre los grupos de cables compatibles.
IMPORTANTE: El enchufe ISOBUS 11783 (F) en la consola derecha
sólo debe usarse con componentes compatibles con la normativa
ISO 11783. El uso para otros fines puede dañar los componentes
electrónicos del tractor.
La compatibilidad con ISOBUS consta de un conector estandarizado
ISO 11783 en la consola derecha y un conector de apero en la parte
posterior del tractor para facilitar las comunicaciones entre el tractor
y el apero.
|
GreenStar es una marca comercial de Deere
& Company
John Deere
es una marca comercial de Deere & Company
|
OURX935,0000B70-63-20090912
|
|