Observación de las limitaciones de carga de la barra de tiro

IMPORTANTE:

RXA0090815
RXA0090815-UN-14SEP06

Barra de tiro

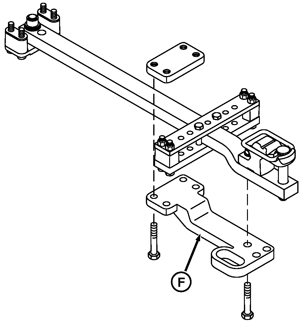
RXA0090722
RXA0090722-UN-14SEP06

Barra de tiro de servicio intensivo con soporte

A - Barra de tiro

B - Eje de la TDF

C - Dimensión

D - Posición corta

E - Posición larga

F - Soporte de servicio intensivo

Los aperos pesados junto con un exceso de velocidad y un terreno abrupto pueden sobrecargar la barra de tiro. No exceder las cargas verticales estáticas máximas permitidas sobre la barra de tiro (A) para una posición/longitud determinada, tal y como se indica en la siguiente tabla.

IMPORTANTE: Se debe utilizar un soporte de barra de tiro para servicio severo cuando la carga vertical estática máxima sobrepasa de 2245 kg (4950 lb).

NOTA: En las barras de tiro se usan tornillos especiales. Acudir al concesionario John Deere cuando sea necesario sustituir los tornillos.

Si la carga vertical sobrepasa los 2245 kg (4950 lb), acoplar el soporte reforzado de servicio intensivo (F) a la barra de tiro de categoría 4 y apretar los tornillos especiales según el valor especificado.

ElementoMediciónEspecificación
Soporte de barra de tiro reforzado
Tornillos del apoyoPar de apriete430 Nm (318 lb-ft)

Limites de carga de la barra de tiro según posición, longitud y tipo de TDF

Modelo de tractor y clase de barra de tiro

Eje de la TDF (B)

Distancia (C) desde la extremidad del eje de la TDF hasta el taladro del pasador de arrastre

Posición de la barra de tiro

Carga vertical máxima de la barra de tiro

8225, 8245, 8270, y 8295 con barra de tiro de categoría 3

Eje estándar de 1000 r/min con 20 estrías, 45 mm (1-3/4 in.) de diámetro

500 mm (20 in.)

Posición larga, agujero delantero (E)

1837 kg (4050 lb)

8225, 8245, 8270, y 8295 con barra de tiro de categoría 3

Eje opcional de 540 r/min con 6 estrías, 35 mm (1-3/8 in.) de diámetro

350 mm (14 in.)

Posición corta, agujero trasero (D)

2700 kg (6000 lb)

8225, 8245, 8270, y 8295 con barra de tiro de categoría 3

Eje opcional de 1000 r/min con 21 estrías, 35 mm (1-3/8 in.) de diámetro

400 mm (16 in.)

Posición larga, agujero delantero (E)

1837 kg (4050 lb)

8320 y 8345 con barra de tiro de categoría 4

Eje estándar de 1000 r/min con 20 estrías, 45 mm (1-3/4 in.) de diámetro

500 mm (20 in.)

Barra de tiro con un solo agujero

2245 kg (4950 lb)

8320 y 8345 con barra de tiro de categoría 4

Eje opcional de 540 r/min con 6 estrías, 35 mm (1-3/8 in.) de diámetro

N/C

N/C

N/C

8320 y 8345 con barra de tiro de categoría 4

Eje opcional de 1000 r/min con 21 estrías, 35 mm (1-3/8 in.) de diámetro

400 mm (16 in.)

Barra de tiro con un solo agujero

2245 kg (4950 lb)

8225, 8245, 8270, 8295, 8320 y 8345 con barra de tiro de categoría 4 y soporte de barra de tiro para servicio intensivo

Eje estándar de 1000 r/min con 20 estrías, 45 mm (1-3/4 in.) de diámetro

500 mm (20 in.)

Barra de tiro con un solo agujero

4990 kg (11000 lb)

8225, 8245, 8270, 8295, 8320 y 8345 con barra de tiro de categoría 4 y soporte de barra de tiro para servicio intensivo

Eje opcional de 540 r/min con 6 estrías, 35 mm (1-3/8 in.) de diámetro

No recomendado

8225, 8245, 8270, 8295, 8320 y 8345 con barra de tiro de categoría 4 y soporte de barra de tiro para servicio intensivo

Eje opcional de 1000 r/min con 21 estrías, 35 mm (1-3/8 in.) de diámetro

400 mm (16 in.)

Barra de tiro con un solo agujero

4990 kg (11000 lb)

La barra de tiro categoría 3 utiliza un bulón de 38 mm (1.5 in.).

La barra de categoría 4 utiliza un bulón de tiro de 51 mm (2.0 in.).

OURX935,0000B78-63-20090915