Hitch Conversion-Category 4/4N Convertible Quick Coupler

Quick-coupler is convertible to Category 4 or Category 4N. Use Category 4 whenever possible, especially for heavy loads. The greater width gives more strength.

NOTE: Your John Deere Dealer can supply parts to adapt Category 4/4N quick coupler to Category 3 implements.

Use following procedure to convert Quick-coupler:

RW26137

RW29387,00002B5 -19-22MAY07-1/4


1. Turn thick ends (A) forward on draft link bumpers for Category 4; thin ends forward for Category 4N.

2. Loosen front cap screw and remove rear cap screw. Pivot bumper on front cap screw. Reinstall rear cap screw. Tighten cap screws securely.

Specification

Tighten Cap Screw -Torque 230 N·m 170 lb-ft


A-Draft Link Bumper

RW26573

Draft Link Bumper

RW29387,00002B5 -19-22MAY07-2/4


causym CAUTION: Use proper lifting device when converting coupler. Failure to do so may result in personal injury.

3. Support center of quick-coupler.

4. Remove pin retaining bolts (A) and pins from draft link.

5. Remove side member cap screws (B).


A-Retaining Bolts
B-Cap Screws

RW56109A

RW29387,00002B5 -19-22MAY07-3/4


6. Switch ends with quick-coupler side members (A) (left member to right end and right to left). Tighten cap screws to specification.

Side Member-to-Crossbar Cap Screws - Specification

Cap Screws -Torque 425 N·m (315 lb-ft)

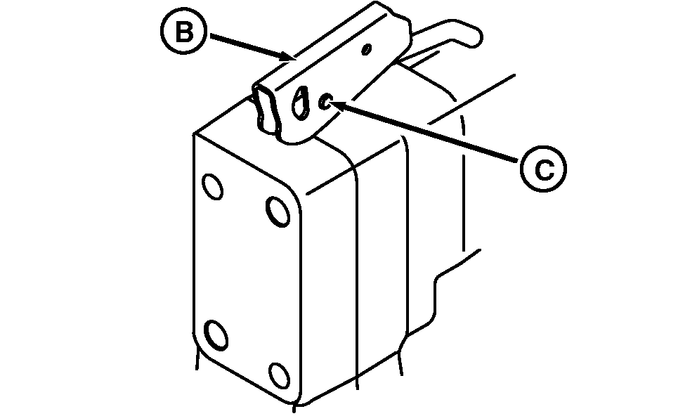
IMPORTANT: Lower coupler hook should be kept under pressure before removing roll pin, to hold lock rod in place.

7. Flip latch handle around by removing roll pin (C).

8. Turn latch handle inward (B) and reinstall roll pin.

9. Flip handle down in lock position.


A-Side Members
B-Coupler Latch Handles
C-Roll Pin

RW26140
RXA0090923

Coupler Latch Handle

RW29387,00002B5 -19-22MAY07-4/4