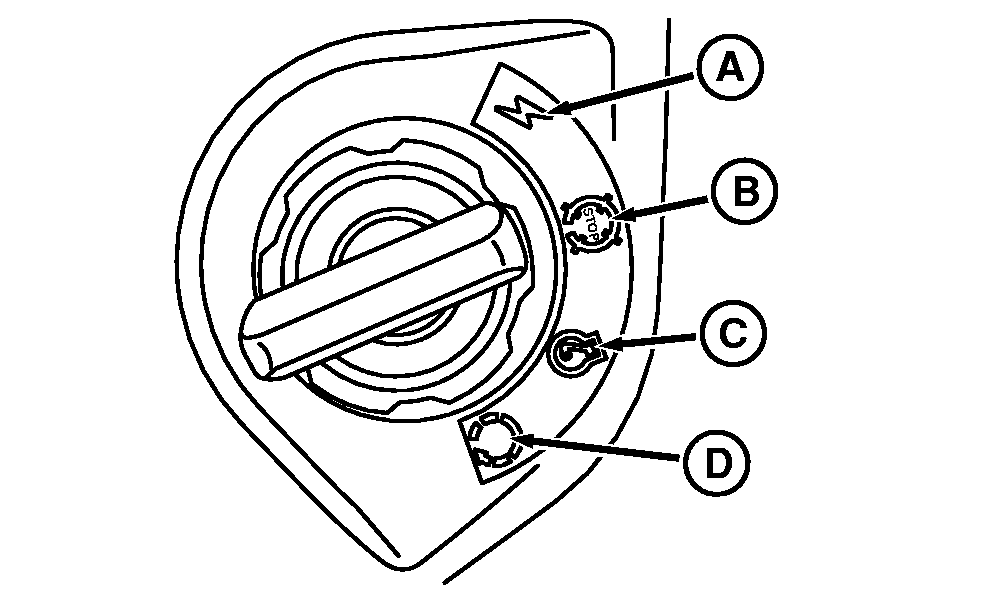
Key Switch


A-Accessories
B-Off
C-Run
D-Start

RXA0089050

RW29387,000006A -19-16MAY06-1/1