Install Drawbar or Quick-Attach in Short Drawbar Support

Use scraper drawbar when scraper tongue weight exceeds design specifications of agricultural tractor drawbar. The scraper drawbar is shorter which minimizes weight transfer to the rear axle. Follow scraper recommendations for drawbar installation.

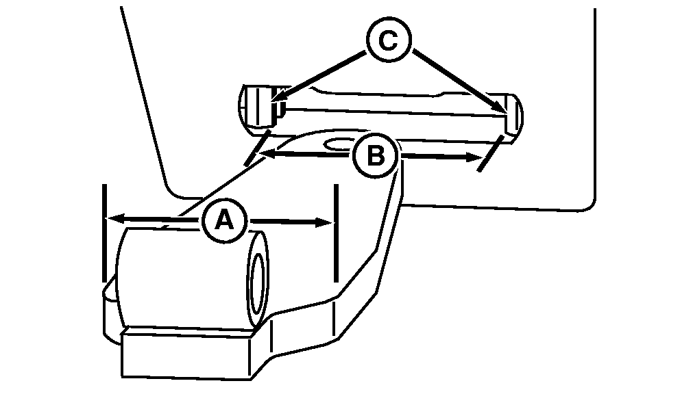
IMPORTANT: Adjust hex bushings (C) when installing scraper drawbar.

NOTE: All four (4) locking bolts should be clean and free of oil to maintain maximum torque.

1. Loosen drawbar locking bolts and bushings, underside of support.

2. Measure width of drawbar area (A) resting on drawbar support.

3. Rotate bushings so distance (B) between bushings is as close to drawbar width (A) as possible.

4. Slide short drawbar or quick-attach drawbar (D) into support.

5. Install front drawbar pin.

6. Tighten drawbar locking bolts.

Drawbar Locking Bolts - Specification

Bolt -Torque 430 N·m (320 lb-ft)

IMPORTANT: Recheck Locking Bolt Torque Specification.

7. Check and retorque drawbar support bolts after first 10 Hours, 50 Hours and 100 Hours of scraper operation.


A-Drawbar Width
B-Drawbar Bushing Distance
C-Bushings
D-Quick-Attach Drawbar

RXA0066014

Scraper Drawbar Support

RXA0064878

Adjusting Drawbar

RXA0096143

Quick-Attach Drawbar

OU1092A,00001C5 -19-04OCT07-1/1