Examples Using Load-Sensing Hydraulic System-Power-Beyond

RXA0085800

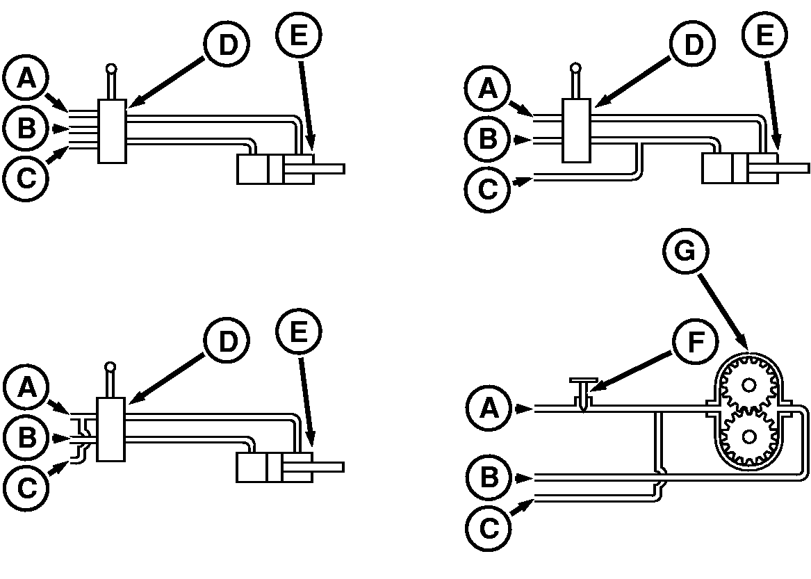
Four Examples of Load-Sensing Hydraulic System - Power Beyond


A-Pressure Line
B-Return Line


C-Load-Sense Line
D-Control Valve


E-Cylinder
F-Pressure-Compensated Flow Valve


G-Hydraulic Motor

Upper Left -Control valves with a load-sense provide a load-sense signal to hydraulic system and can be operated manually or by solenoids.

Upper Right -Control valve directs oil into extend or retract circuits. Connect load-sense line to circuit requiring pressure. An example is a wagon lift cylinder with load supported by mechanical stops in full down position. Load-sense signals pump when increased pressure is needed. Pressure remains low when not needed.

IMPORTANT: Circuit allows cylinder "leak-down" through load-sense line (C). If leakage is not acceptable for operation, use Example 3.

Lower Left -Control valve directs oil into extend or retract circuits, either requiring high pressure. Connect load-sense line to pressure line before control valve.

NOTE: System will maintain a maximum pressure of 20000 kPa (200 bar) (2900 psi) as long as power-beyond hoses are connected.

An example is a folding implement, where pressure is needed to extend or retract cylinders.

Lower Right -Pressure-compensated flow control valve is used to regulate hydraulic motor speed. Connect load-sense line to pressure line after control valve.

NOTE: Motor speed can fluctuate when other functions cause system pressure change. Minimize fluctuations by installing a pressure-compensated flow control valve.

OURX935,000008D -19-15JAN08-1/1