Hitch Conversion-Convertible Quick Coupler

1. Converting to category 3N is necessary for some narrow row/tread spacing operations. Quick coupler is convertible to Category 3 or Category 3N. Use Category 3 whenever possible, especially for heavy loads.

Install spacer (A) on outside of draft link for Category 3N.

IMPORTANT: If coupler is converted to category 3N, sway block spacer (A) must be mounted on the outside of draft link to avoid damaging equipment.

2. Adjust bumper block (B) to minimize clearance.

3. Tighten nut securely.

RXA0085783

Spacer and Bumper Block


A-Spacer
B-Bumper Block

OURX935,00003DA -19-16JUL08-1/2


4. Support center of quick coupler. Remove pin retaining bolts (A) and pins from draft link. Remove side member cap screws (B).

5. Swap quick coupler side members, left-side member (C) to right end and right-side member (D) to left. Tighten cap screws to 320 +/-64 N·m.

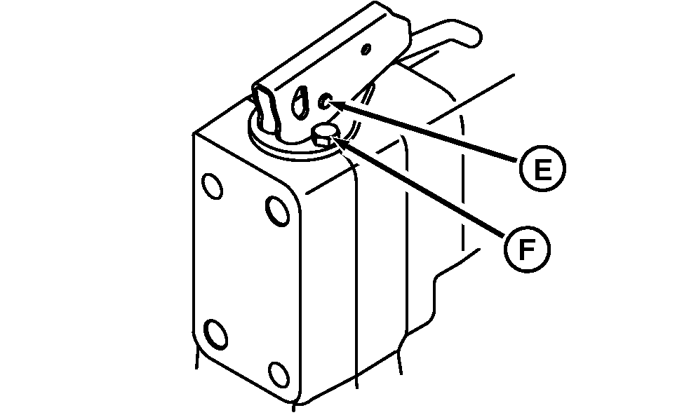
6. Disconnect latch levers by removing C-clip and pin (E).

7. Remove cap screw (F) from wear plate and turn so tab is inward.

8. Install cap screws and tighten securely.

9. Reconnect levers.


A-Retaining Bolts
B-Cap Screws
C-Left Side Member
D-Right Side Member
E-C-Clip and Pin
F-Cap Screw

RXA0098644

Quick Coupler

RXA0085782

Quick Coupler

OURX935,00003DA -19-16JUL08-2/2