Rear Triple Wheel Row Crop Settings

Normal Operation with Hitch Between the Crop Rows
Tire Section › mm 320 380 480
Row Spacing - cm (inch) 50.80 (20) 55.88 (22) 76.20 (30)
Drive Wheel - inch 80 88 60
Dual Wheels - inch 120 132 120
Dual Extension (118.5 in Axle) 7.5 mm washer None None
Triple Wheels - inch 160 176 180
Triple Extension (118.5 in Axle) 15" 15" plus 6.4 mm washer 15" & 10" plus 7.5 mm washer
Off Set Operation with Hitch Over the Crop Rows
Tire Section › mm 320 380  
Row Spacing - cm (inch) 50.80 (20) 55.88 (22)  
Drive Wheel - inch 80 88  
Dual Wheels - inch 120 132  
Dual Extension (118.5 in Axle) 7.5 mm washer None  
Triple Wheels - inch 160 176  
Triple Extension (118.5 in Axle) 15" 15" plus 6.4 mm washer  

 

OURX935,00003DE -19-03JAN08-1/2


RXA0085830

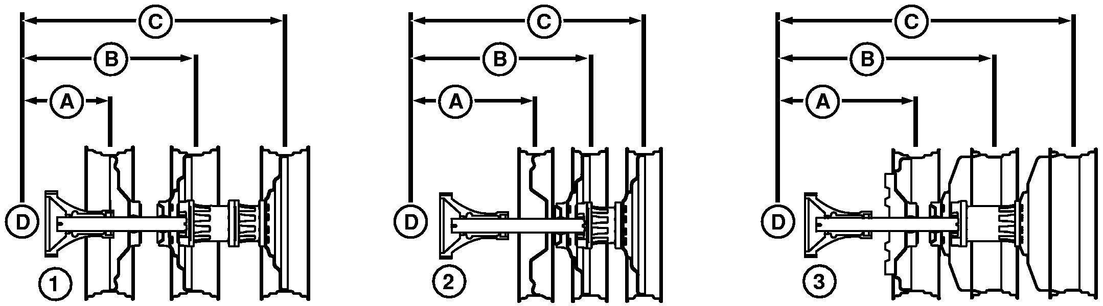
480 mm Rear Tire Triple Tread Setting


A-Single
B-Dual


C-Triple
D-Tractor Centerline


1-480 mm Rear Tires
2-380 mm Rear Tires


3-320 mm Rear Tires

480 mm Rear Tires (1)
Normal Operation Single Dual Triple
  A B C
  1524 mm (60 in.) 3048 mm (120 in.) 4572 mm (180 in.)
Tire Size Rim Position Rim Position Rim Position
480/80R50 In Out Out
480/80R46 In Out Out
18.4R46 In Out Out
 
380/90R50 Rear Tires (2)
Normal Operation Single Dual Triple
  A B C
Normal Operation 2235 mm (88 in.) 3352 mm (132 in.) 4470 mm (176 in.)
Offset Operation 1676 mm (66 in.) 2794 mm (110 in.) 3912 mm (154 in.)
Tire Rim Position Rim Position Rim Position
Normal Operation Out Out Out
Offset Operation In Position La Out
320/90R54 Rear Tires (3)
Normal Operation Single Dual Triple
  A B C
Normal Operation 2032 mm (80 in.) 3048 mm (120 in.) 4064 mm (160 in.)
Offset Operation 1524 mm (60 in.) 2540 mm (100 in.) 3556 mm (140 in.)
Tire Rim Position Rim Position Rim Position
Normal Operation Out Position Pa Position Oa
Offset Operation In Position La Position Pa
aSee Sixteen Position Wheel Settings.

 

OURX935,00003DE -19-03JAN08-2/2