Eight Position Wheel Settings

causym CAUTION: Avoid the possibility of personal injury. Failure to follow torquing sequence and procedure will result in damage to equipment and may result in personal injury. Wheel bolts are critical and require repeated torquing.

NOTE: A through H are used for all tires 480 mm (18.4 in.) or less.

NOTE: Tread settings are measured at bottom center line of tire.

Use diagram at the right to adjust rim and disk for desired tread setting.

Using a star shaped pattern, torque disk to rim bolts as needed to maintain torque.

Specification

Disk To Rim Bolts -Torque 310 N·m (230 lb-ft)

Using a star shaped pattern, torque disk to hub nuts as needed to maintain torque.

Specification

Disk To Hub Nuts -Torque 600 N·m (450 lb-ft)

Retighten bolts after working 3 hours and again after 10 hours.

Tighten bolts daily for the first week of operation.

Adjust fenders and steering stops as required using the tables and diagrams on the following pages.

RXA0062856

Rim Settings

OURX935,0000680 -19-03JAN08-1/2


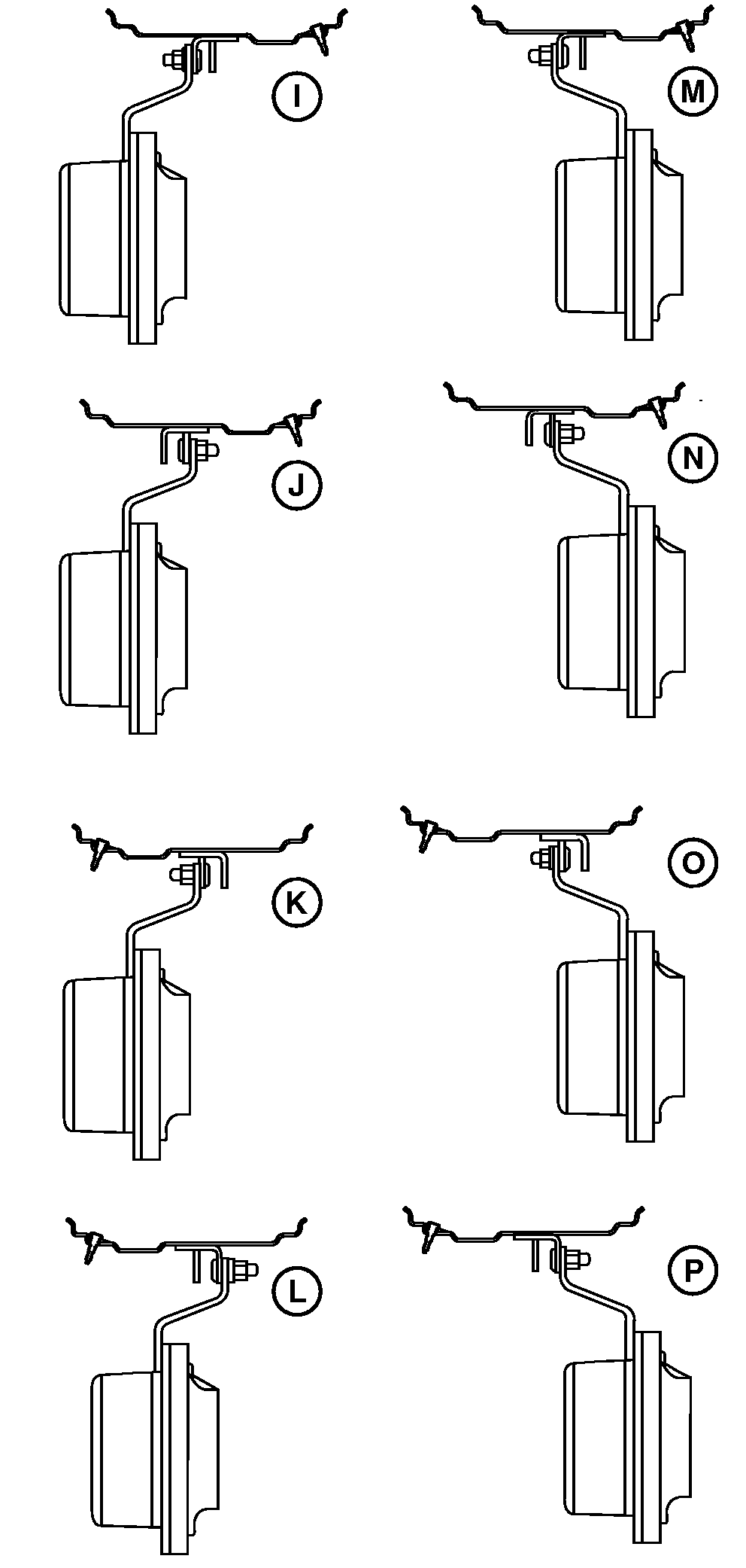
causym CAUTION: Avoid the possibility of personal injury. Failure to follow torquing sequence and procedure will result in damage to equipment and may result in personal injury. Wheel bolts are critical and require repeated torquing.

NOTE: I through P are used for 540, 600 and 620 mm tires.

NOTE: Tread settings are measured at bottom center line of tire.

Use diagram at the right to adjust rim and disk for desired tread setting.

Using a star shaped pattern, torque disk to rim bolts as needed to maintain torque.

Specification

Disk To Rim Bolts -Torque 310 N·m (230 lb-ft)

Using a star shaped pattern, torque disk to hub nuts as needed to maintain torque.

Specification

Disk To Hub Nuts -Torque 600 N·m (450 lb-ft)

Retighten bolts after working 3 hours and again after 10 hours.

Tighten bolts daily for the first week of operation.

Adjust fenders and steering stops as required using the tables and diagrams on the following pages.

RXA0062368

Wide Rim Settings

OURX935,0000680 -19-03JAN08-2/2