Wheel Torque Wrench Adapter-JDG679

The JDG679 Torque Wrench Adapter (A), 32 mm (3/4 in.) drive is designed for easy access to sleeve bolts on inner cast wheels with outside duals in place.

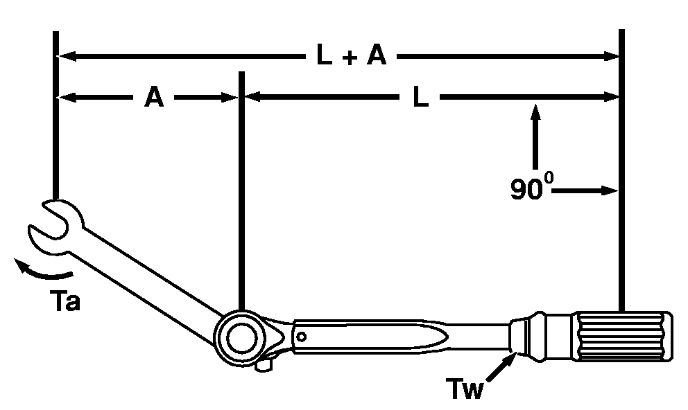
Torque wrench adapter should be at 90° angle from torque wrench shaft for correct torque specification.

See your John Deere Dealer to order.

Specification

Cast Wheel Cap Screws -Torque 610 N·m (450 lb-ft)
When unable to use Adapter at 90° angle from torque wrench shaft, use this formula to calculate correct torque setting.

Tw = Torque setting on the torque wrench
Ta = Torque actually being applied to the nut or cap screw
L = Length from the point of force (center of the wrench handle) to the center of head of torque wrench
A = Application distance from center of torque wrench head to the center of adapter which is 95 mm (3.75 in.)

 

Example: Torque wrench length = 0.91 m (36 in.), wrench adapter = 0.1 m (4 in.), so new Tw for torque wrench setting is 549 N·m (405 lb-ft).


A-JDG679 Torque Wrench Adapter

RXA0086802
RXA0086804
RXA0061214
RXA0062101

RW29387,000042F -19-19JAN07-1/1