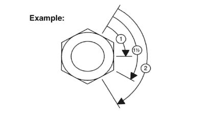
Hex Flats Recommended Rotation

CM992600060
CM992600060-UN-12JAN00


Size

37° - Flanged Tube

37° - Machined Fitting Seat

 

Washer and Nut

Fittings and Hoses

-4

2 1/4-2 3/4

1 1/2-1 3/4

-6

2 1/4-2 3/4

1-1 1/2

-8

2 1/4-2 3/4

1 1/4-1 3/4

-12

2-2 1/2

1-1 1/2

-16

2 1/4-2 3/4

3/4-1

-20

1 1/4-1 3/4

1/2-3/4

AG,T803584,248-19-20000614