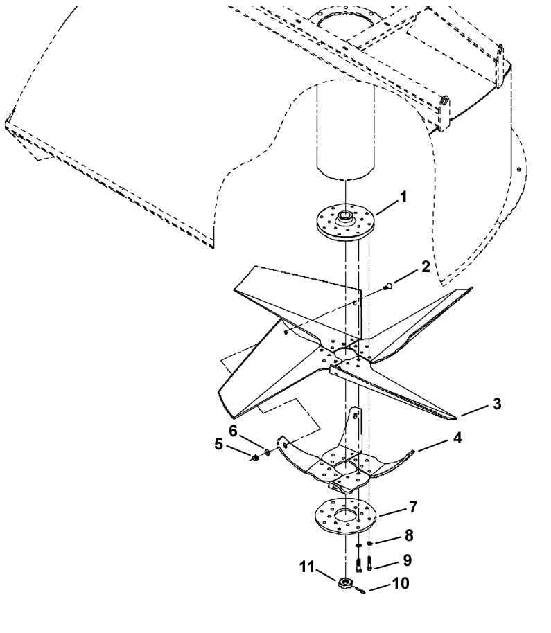
Primary Extractor

NW270080
NW270080-UN-15MAY06

1 - Fan Hub Plate

2 - Bolt

3 - Fan Blade

4 - Double Reinforcement

5 - Lock Nut

6 - Flat Washer

7 - Fan Base Plate

8 - Washer

9 - Bolt

10 - Cotter Pin

11 - Nut


OU64006,00001B5-19-20111223