Adaptation de la ramasseuse-presse à la prise de force 1000 tr/min (sans dispositif de coupe)

IMPORTANT: Toutes les ramasseuses-presses équipées d'un limiteur de couple, de même que celles équipées d'un embrayage de sécurité à cames, peuvent fonctionner avec une prise de force 1000 tr/min après inversion de la position du renvoi d'angle.

Ne pas faire fonctionner la ramasseuse-presse avec une prise de force 1000 tr/min si la transmission est protégée par boulon de cisaillement, sous peine de détérioration de la ramasseuse-presse qui n'est plus protégée contre les surcharges.

Pour adapter le renvoi d'angle entraîné au régime 540 tr/min à la prise de force 1000 tr/min, procéder comme suit:

Dépose de l'arbre d'entraînement

Déposer le garant de la flèche.

Déconnecter l'arbre de transmission de l'arbre d'entrée du renvoi d'angle.

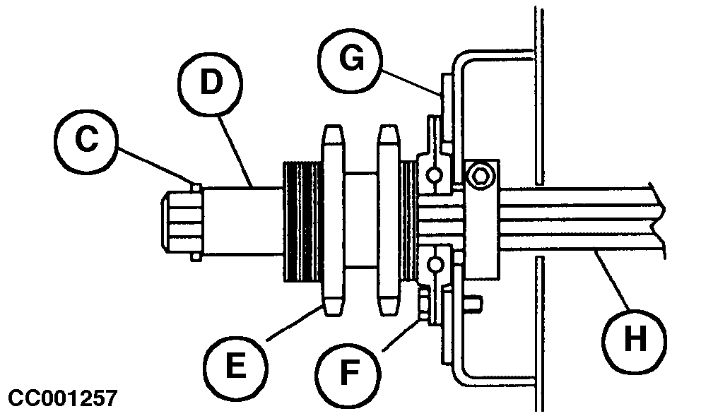
Déposer les maillons-raccords de la chaîne d'entraînement principale (A) et de la chaîne du rouleau inférieur d'entraînement (B).

Déposer la goupille fendue (C), ainsi que la bague (D), les rondelles et le pignon (E).

NOTE: Repérer l'emplacement et le nombre de rondelles logées derrière le pignon (E).

Déposer les trois vis (F) de la plaque (G) et déposer l'arbre (H).

CC001256
CC001257


A-Chaîne d'entraînement principale
B-Chaîne du rouleau inférieur d'entraînement
C-Goupille fendue
D-Bague
E-Pignon
F-Vis
G-Plaque
H-Arbre

AG,OUCC006,505 -28-31AUG00-1/6


Inversion de la position du renvoi d'angle

Déposer les deux vis (A) de la valve de densité (B).

Tourner la valve de densité et dévisser les quatre vis (C) du renvoi d'angle, puis déposer le boîtier du renvoi d'angle.

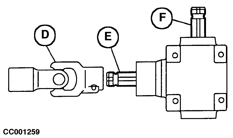
Déposer le croisillon (D) de l'arbre de sortie (E) et le monter sur l'arbre d'entrée (F).

Retirer la jauge (G) et déposer le bouchon de vidange (H).

Tourner le renvoi d'angle; introduire la jauge (G) dans le logement du bouchon de vidange et monter le bouchon de vidange à l'emplacement prévu pour la jauge.


A-Vis
B-Valve de densité
C-Vis
D-Croisillon
E-Arbre de sortie
F-Arbre d'entrée
G-Jauge
H-Bouchon de vidange

CC001258
CC001259
CC001260

AG,OUCC006,505 -28-31AUG00-2/6


Réglage du collier de positionnement

Desserrer la vis (A) du collier, puis glisser le collier (B) jusqu'à obtention de la cote (C).

Resserrer la vis (A).

NOTE: La cote (C) (540 tr/min) pour la position du collier est indiquée pour le cas où la ramasseuse-presse devrait à nouveau être entraînée au régime de 540 tr/min.


A-Vis
B-Collier de positionnement
C-133 ±2 mm (5.23±0.078 in) pour 1000 tr/min
C-173 ±2 mm (6.81±0.078 in) pour 540 tr/min

CC001261

AG,OUCC006,505 -28-31AUG00-3/6


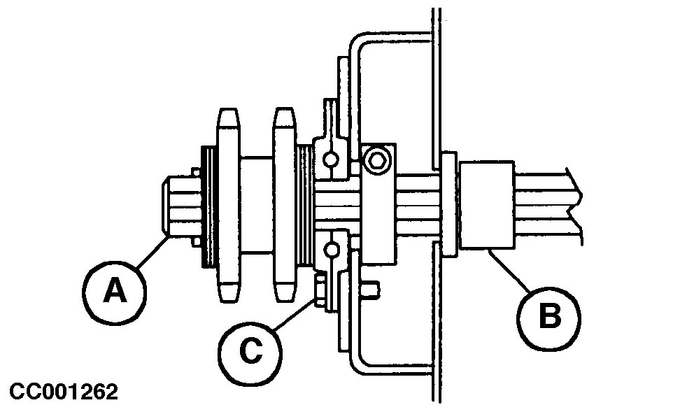
Montage de l'arbre d'entraînement

Monter la plaque, les rondelles (autant qu'il en a été déposé), le pignon et la goupille fendue sur l'arbre (A) comme illustré.

Mettre en place la bague non utilisée (B) et les rondelles sur le côté opposé de l'arbre (A).

Fixer les éléments assemblés au châssis de la ramasseuse-presse au moyen des trois vis (C).

CC001262

AG,OUCC006,505 -28-31AUG00-4/6


Remise en place du renvoi d'angle

Glisser la mâchoire (A) de l'arbre de transmission à cardan sur l'arbre d'entraînement (B).

Fixer le boîtier au moyen des quatre vis. Serrer ces vis à 95 N·m (70 lb-ft).

Fixer la valve de densité au moyen des deux vis de fixation.

Vérifier le niveau d'huile du renvoi d'angle. Si nécessaire, ajouter de l'huile de transmission répondant aux spécifications de la section "Lubrification et entretiens périodiques".

Adapter le limiteur de couple à la prise de force 1000 tr/min en introduisant les taquets (C) dans la première rangée de boutonnières (D), les évidements (E) étant orientés vers l'extérieur du limiteur de couple.

Adapter l'embrayage de sécurité à came à la prise de force 1000 tr/min en réglant la longueur (G) de la came assemblée à 135 mm (5.31 in).

IMPORTANT: Veiller à ce que les cotes (X) et (Y) restent égales après le réglage. Le réglage initial (G) est de 128 mm (5.04 in) pour 540 tr/min.

Lors du remontage, noter le sens de rotation de l'embrayage de sécurité/du limiteur de couple.


A-Croisillon
B-Arbre d'entraînement
C-Taquets
D-Boutonnières
E-Évidements
F-Came assemblée
G-135 mm (5.31 in)

CC001263
CC001265
CC007920
CC006859

Rotation à droite

AG,OUCC006,505 -28-31AUG00-5/6


Application de l'autocollant 1000 tr/min

Connecter l'arbre de transmission à l'arbre d'entrée du renvoi d'angle.

Remettre en place le garant de la flèche et y appliquer les autocollants 1000 tr/min comme illustré.

CC001264

AG,OUCC006,505 -28-31AUG00-6/6