Contrôleur électronique du liage

Le contrôleur électronique du liage (A) permet d'effectuer un liage programmé ou manuel.

Liage programmé:

Procéder de la manière suivante:

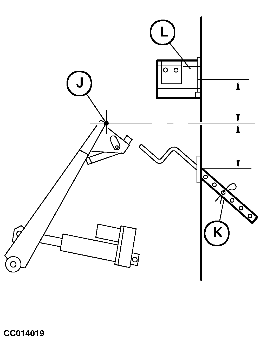
1. Déterminer le point de réextension du bras de liage (J) (avant qu'il ne retourne à sa position de repos) au moyen de la vis de réglage (B). La réextension du bras de liage permet d'augmenter le nombre de spires de ficelle à l'extrémité de la balle (par ex. pour le pressage de paille).

Tourner la vis (B) en sens horaire ou antihoraire pour régler la distance séparant le point de réextension (J) de la paroi latérale de la chambre à balle. En réglage de base, le point de réextension (J) doit se trouver entre le guide-ficelle (K) et le couteau à ficelle (L), comme illustré ci-contre.

NOTE: A l'usine, le point de réextension est réglé à 120 mm (4.72 in) environ de la paroi latérale de la chambre à balle.

NOTE: Les réglages du point de réextension et du guide-ficelle doivent être compatibles afin d'éviter toute interférence. Voir sous "Réglage du guide-ficelle" dans la section "Utilisation - Généralités".


A-Boîtier de contrôle électronique
B-Vis de réglage
C-Potentiomètre répartition de la ficelle à droite
D-Potentiomètre répartition de la ficelle au milieu
E-Potentiomètre répartition de la ficelle à gauche
F-Contacteur "ON/OFF" (marche/arrêt)
G-Contacteur "START" (démarrage du programme)
H-Témoin "IN CYCLE" (liage en cours)
I-Contacteur de contrôle manuel
J-Point de réextension
K-Guide-ficelle
L-Couteau à ficelle

CC000937
CC014019

AG,OUCC006,506 -28-31AUG00-1/3


2. Régler la répartition de la ficelle autour de la balle au moyen des potentiomètres (C), (D) et (E).

Tourner le potentiomètre (C) en sens horaire pour régler la durée d'immobilisation du bras de liage en position d'extension maximale (0,1 à 10 secondes).

Tourner le potentiomètre (D) en sens horaire pour régler la durée du liage de la ficelle autour de la balle pendant la rétraction du bras de liage (8 à 70 secondes).

Tourner le potentiomètre (E) en sens horaire pour régler la durée de réextension du bras de liage au point déterminé au moyen de la vis de réglage (B) (0 à 5 secondes). Si le potentiomètre (E) est réglé sur "0", il n'y a pas de réextension du bras de liage.

Commuter le contacteur (F) sur ON (marche), le contrôleur électronique est prêt à fonctionner.

NOTE: Appuyer sur le bouton "START" (G) pour démarrer le liage programmé si la balle n'a pas encore atteint le diamètre voulu. Voir sous "Liage de la balle - Mode programmé" dans cette section.

Le témoin "IN CYCLE" (H) est allumé de façon continue dès que le contacteur "START" (G) est actionné ou si le bras de liage est enclenché automatiquement par le contacteur de diamètre de balle; le témoin clignote lorsque le cycle de liage est terminé. Si nécessaire, il est possible de démarrer un nouveau cycle de liage en appuyant sur le contacteur "START" (G) alors que le témoin est allumé.

NOTE: Le contacteur de contrôle manuel (I) permet d'interrompre à tout moment le liage programmé. Il est alors possible de démarrer le liage manuel. Voir sous "Liage manuel" dans cette section.

NOTE: Le niveau sonore de l'alarme est réglable.

CC000937


A-Boîtier de contrôle électronique
B-Vis de réglage
C-Potentiomètre répartition de la ficelle à droite
D-Potentiomètre répartition de la ficelle au milieu
E-Potentiomètre répartition de la ficelle à gauche
F-Contacteur "ON/OFF" (marche/arrêt)
G-Contacteur "START" (démarrage du programme)
H-Témoin "IN CYCLE" (liage en cours)
I-Contacteur de contrôle manuel

AG,OUCC006,506 -28-31AUG00-2/3


Liage manuel:

Commuter le contacteur (B) sur ON (marche).

Démarrer le liage en appuyant sur le contacteur (C). Voir sous "Liage de la balle - Mode manuel" dans cette section.

IMPORTANT: Le boîtier électronique est protégé par un coupe-circuit. Si le contacteur de contrôle manuel (C) est actionné alors que le bras de liage se trouve en position d'extension ou de rétraction maximale, le coupe-circuit est activé. Dans ce cas, attendre pendant quelques secondes le refroidissement du coupe-circuit, puis mettre successivement le contrôleur hors tension et sous tension (OFF/ON).


A-Boîtier de contrôle électronique
B-Contacteur "ON/OFF" (marche/arrêt)
C-Contacteur de contrôle manuel

CC000870

AG,OUCC006,506 -28-31AUG00-3/3