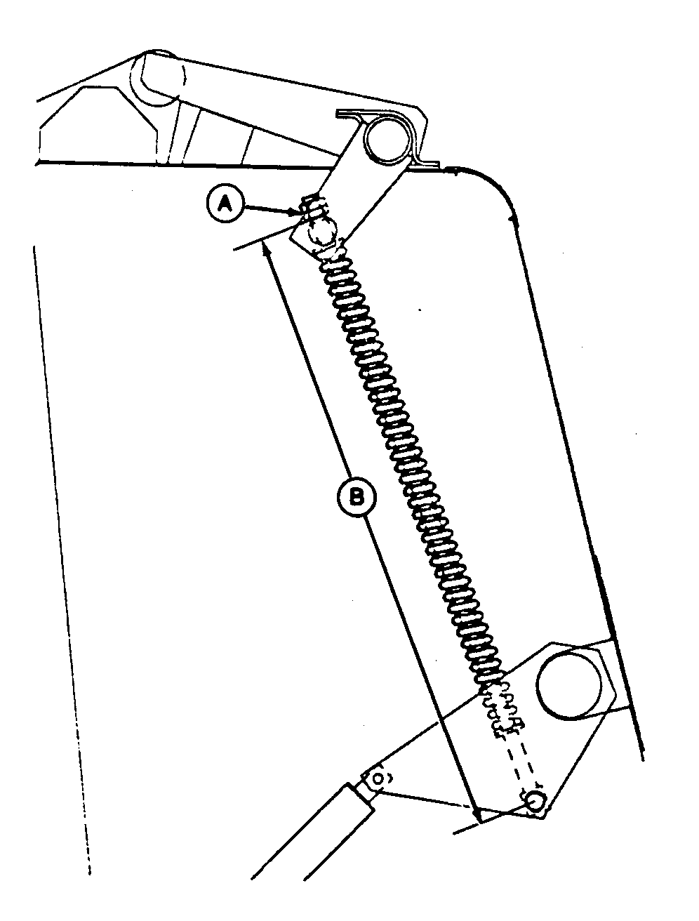
Réglage du ressort du bras supérieur (580 et 590 sans dispositif de coupe)

Si le ressort a été remplacé ou si les contre-écrous ont été déposés, régler le ressort comme suit:

Fermer la porte et abaisser le bras de tension des courroies.

Agir sur les contre-écrous (A) pour obtenir la cote (B) suivante: 973 ± 1,5 mm (38.30 ± 0.06 in) sur 590 690 ± 1,5 mm (27.16 ± 0.06 in) sur 580.

E36256

CC03745,00001D1 -28-08NOV00-1/1