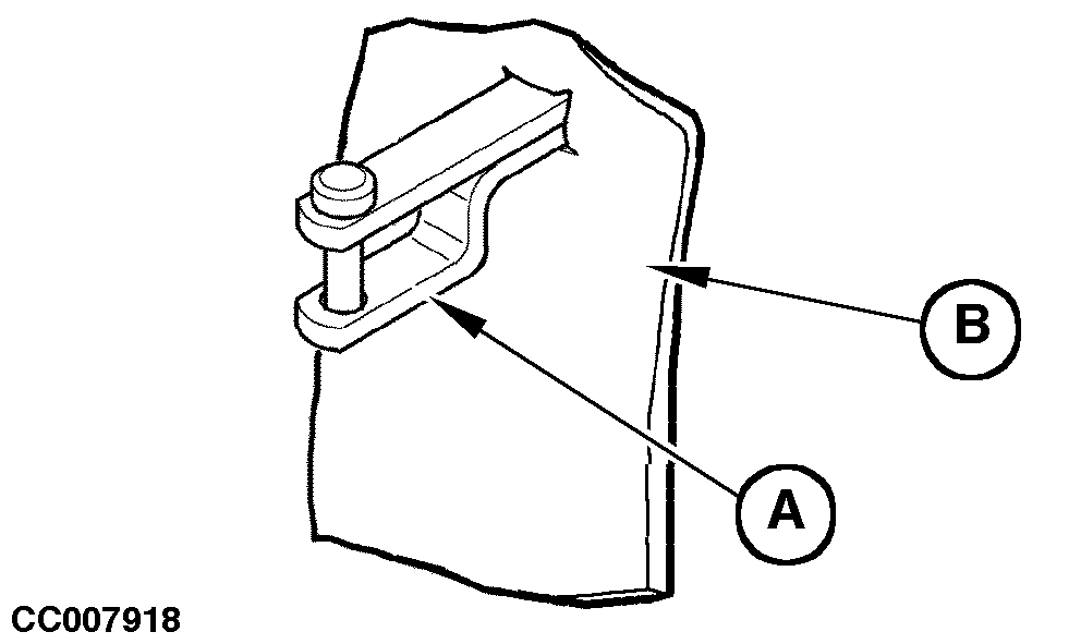
Bavette sur barre d'attelage

Si la barre d'attelage (A) a tendance à se prendre dans l'andain situé sous le tracteur, il convient d'y adapter une bavette déflectrice (B).

CC007918

CC,570RB003439 -28-15SEP98-1/2


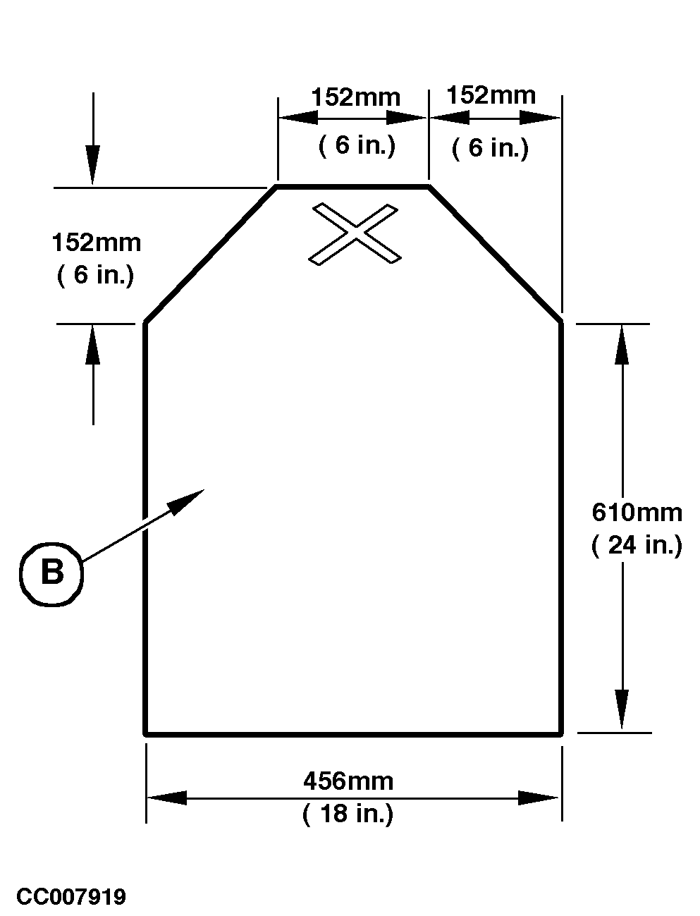
Pour la réalisation d'une bavette (B), utiliser un morceau de courroie 2 ou 4 plis (se reporter au schéma ci-contre).

CC007919

CC,570RB003439 -28-15SEP98-2/2