Réglage du vérin du bras supérieur (580)

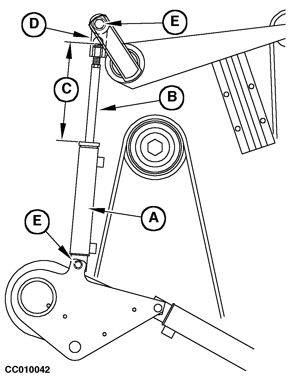
Si le vérin hydraulique (A) a été remplacé, le régler de la manière suivante:

Fermer la porte et abaisser le bras de tension des courroies.

Extraire la tige du vérin (B) jusqu'à obtention de la cote (C):

  • 261 mm (10.27 in) sur ramasseuse-presse 580 jusqu'au n° de série 318481
  • 255 mm (10.04 in) sur ramasseuse-presse 580 à partir du n° de série 318482

Mettre en place la patte (D) et la bloquer de manière à pouvoir monter les vis de fixation (E) du vérin.


A-Vérin hydraulique
B-Tige du vérin
C-261 mm (10.27 in) jusqu'au n° de série 318481; 255 mm (10.04 in) à partir du n° de série 318482
D-Patte
E-Vis de fixation

CC010042

CC,570RB003901 -28-01SEP98-1/1