Accrochage de la ramasseuse-presse à la barre d'attelage

En fonction de la position de la barre d'attelage du tracteur, régler la flèche soit au niveau de l'articulation de l'attelage à rotule, soit au niveau de sa propre articulation.

Régler la barre d'attelage du tracteur comme décrit sous "Réglage de la barre d'attelage" à la section "Préparation du tracteur".

Desserrer les contre-écrous (B), les écrous de fixation (A) de la flèche et la vis de fixation (C) de l'attelage à rotule, de manière à pouvoir tourner à la main le cadre de la flèche (D) et l'attelage à rotule (E).

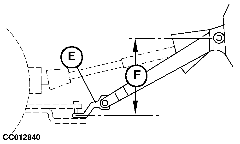
Placer l'attelage à rotule (E) aussi horizontal que possible.

Serrer les écrous de fixation de la flèche (A) à 700 N·m (516 lb-ft), les contre-écrous (B) à 300 N·m (221 lb-ft) et la vis (C) à 620 N·m (450 lb-ft).


A-Écrou de fixation de la flèche
B-Contre-écrou
C-Vis de fixation de l'attelage à rotule
D-Cadre de la flèche
E-Attelage à rotule
F-700 mm (27.56 in) maximum

CC007934
CC000962
CC006710
CC012840

CC,570RB004003 -28-15SEP98-1/2


NOTE: Lors du serrage de la vis (C) et des écrous (A)-(B), s'assurer que les dents des bagues s'engagent les unes dans les autres (les dents ne doivent en aucun cas se faire face).

IMPORTANT: La ramasseuse-presse étant accrochée au tracteur, procéder à un bref essai en conduisant lentement et avec prudence pour s'assurer que le cadre de la flèche (D) et l'arbre de transmission n'entrent pas en contact dans les virages serrés, sous peine de provoquer de graves détériorations de l'arbre de transmission.

Toujours essayer de maintenir la machine le plus possible à l'horizontale afin d'éviter d'éventuels problèmes d'alimentation du ramasseur.

Le décalage maximum (F) autorisé entre l'articulation de la flèche et l'attelage à rotule (E) est de 700 mm (27.56 in). Régler à nouveau la position de la flèche et de l'attelage à rotule si nécessaire.

NOTE: Les ramasseuses-presses sont livrées au départ de l'usine avec leur flèche placée pour l'accrochage à la barre d'attelage.

CC,570RB004003 -28-15SEP98-2/2