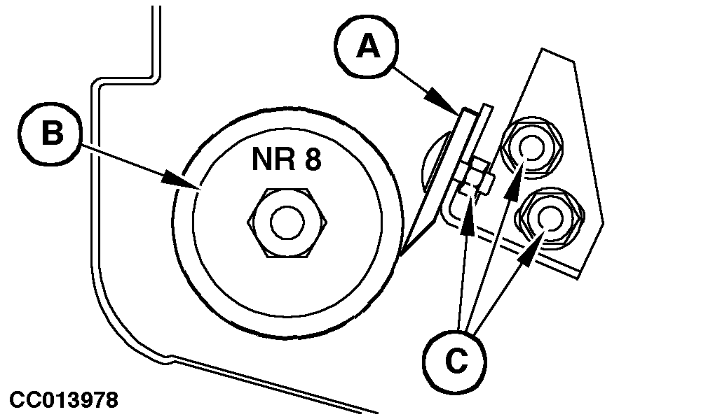
Réglage du racleur du rouleau inférieur arrière de porte (n°8)

Pour régler le racleur (A), desserrer les vis de fixation (C).

Régler le racleur (A) de façon à ce qu'il soit en contact avec le rouleau n°8 (B).

Serrer les vis de fixation (C) à 55 N·m (40 lb-ft).

IMPORTANT: Veiller à ce que le racleur (A) soit en contact avec le rouleau n°8 sur toute la largeur.

CC013978

CC,570RB004257 -28-01SEP98-1/1