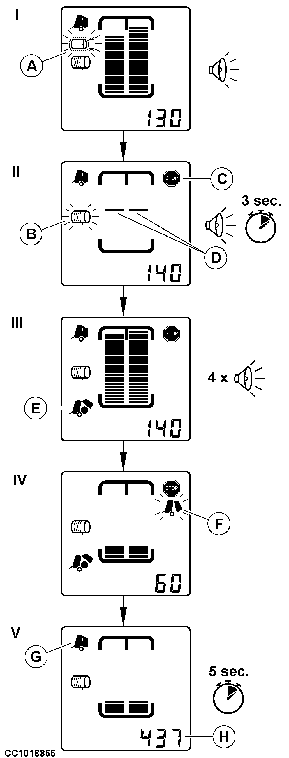
Démarrage automatique du liage

I - Juste avant que le diamètre de balle programmé ne soit atteint, le pictogramme "diamètre de balle presque atteint" (A) clignote et l'alarme sonore du moniteur retentit deux fois. Le "diamètre de balle presque atteint" auquel le pictogramme se met à clignoter peut être réglé, voir sous "Canal 10: Décalage de l'alerte de diamètre de balle presque atteint" dans cette section.

II - Lorsque le diamètre de balle réglé est atteint, l'alarme sonore du moniteur retentit en continu pendant 3 secondes et le témoin stop (C) s'affiche. Arrêter immédiatement le tracteur. Le pictogramme de liage filet ou ficelle (B) clignote (suivant le mode de liage sélectionné) et le liage démarre.

Sur les ramasseuses-presses équipées d'un capteur de poulies de guidage ficelle: En mode liage ficelle, les barres (D) s'affichent pour indiquer que les ficelles lient la balle. Si les pelotes de ficelle sont vides, le témoin stop (C) clignote et une alarme sonore continue retentit.

III - Lorsque le cycle de liage est terminé, le pictogramme d'expulsion des balles (E) s'affiche et l'alarme sonore du moniteur retentit quatre fois.

IV - Ouvrir la porte de la ramasseuse-presse en actionnant la manette de commande du distributeur auxiliaire du tracteur et éjecter la balle. Le pictogramme "porte ouverte" (F) clignote tant que la porte est ouverte.

V - Lorsque la porte est fermée, le pictogramme "porte fermée" (G) s'affiche et le compteur de balles du travail en cours (H) s'affiche pendant 5 secondes. Le moniteur est alors prêt à former une nouvelle balle.


A-Pictogramme "diamètre de balle presque atteint"
B-Pictogramme "liage ficelle"
C-Témoin stop
D-Informations des capteurs de ficelle
E-Pictogramme "expulsion des balles"
F-Pictogramme "porte ouverte"
G-Pictogramme "porte fermée"
H-Compteur journalier

CC1018855

OUCC006,00002C4 -28-05DEC00-1/1