Réglage du racleur du rouleau d'amorçage n°1 (sans dispositif de coupe)

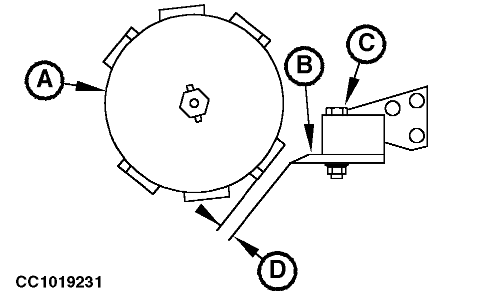
Dans des conditions de travail très humides ou pour ramasser de l'ensilage, amener le racleur (A) le plus près possible du rouleau d'amorçage (B), tout en laissant assez d'espace (C) pour éviter tout contact avec le rouleau d'amorçage.

Desserrer les vis (D) et régler l'espace (C).

Serrer les vis (D) à 140 N·m (103 lb-ft).

NOTE: Avec des barres ou des coquilles caoutchoutées, éloigner au maximum le racleur (A) du rouleau d'amorçage (B).

CC1019231


A-Racleur
B-Rouleau d'amorçage
C-Espace
D-Vis de fixation

OUCC006,00002DE -28-01FEB01-1/1