Montage du support du moniteur BaleTrak et du contrôleur électronique du liage (tracteurs séries 6000, 7000 et 8000 uniquement)

Déposer les deux bouchons supérieurs de la partie inférieure du montant de cabine droit.

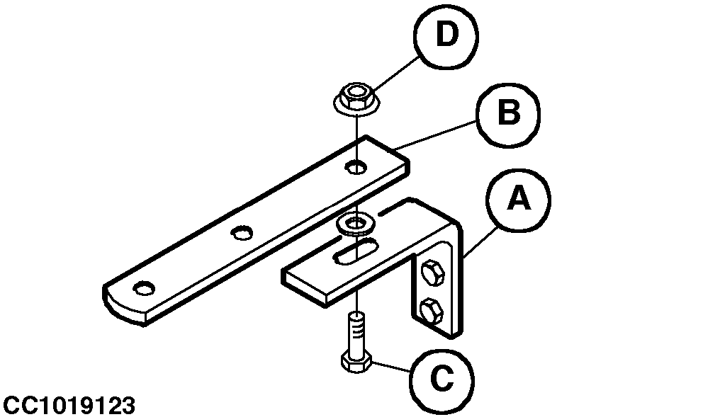
Monter la cornière (A) sur le montant de la cabine et la fixer au moyen de deux vis à collerette M10x20.

Fixer la bride (B) à la cornière (A) au moyen de la vis M10x35 (C), d'une rondelle et de l'écrou à collerette (D).

Fixer le boîtier à la bride (B).


A-Cornière
B-Bride
C-Vis
D-Écrou à collerette

CC000836
CC1019123

OUCC006,00002E8 -28-06FEB01-1/1