Réglage du contacteur de balle surdimensionnée (avec moniteur BaleTrak ou contrôleur électronique du liage)

Fermer la porte.

Verrouiller la porte abaissée (ramasseuse-presse 590 uniquement).

À l'aide de la manette de commande du distributeur auxiliaire, lever au maximum le bras de tension des courroies.

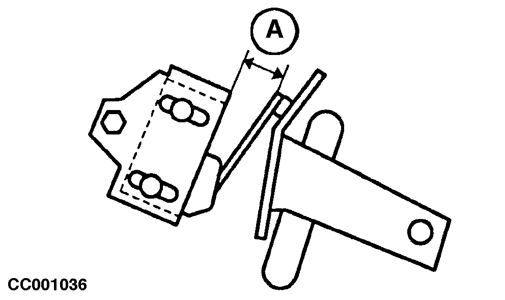
Placer le galet de contacteur sur la rampe tel qu'illustré.

L'écart (A) entre la tige et le corps du contacteur doit être de 1 à 2 mm (0.04 à 0.08 in).

Ramasseuse-presse avec moniteur BaleTrak:

Mettre le moniteur sous tension en mode de fonctionnement normal.

S'assurer que les pictogrammes correspondants sont affichés et que l'alarme sonore retentit lorsque le contacteur de balle surdimensionnée se trouve dans cette position.

Ramasseuse-presse avec contrôleur électronique du liage:

Vérifier que l'alarme sonore retentit lorsque le contacteur de balle surdimensionnée se trouve dans cette position.

Modifier le réglage si nécessaire.

CC001036

Ramasseuse-presse 590

CC1019212


A-1 à 2 mm (0.04 à 0.08 in)
B-Alerte "balle surdimensionnée"

OUCC006,000031B -28-13FEB01-1/1