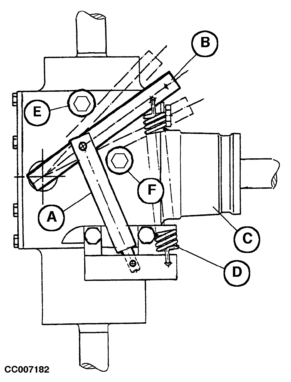
Réglage de la course du vérin hydraulique du renvoi d'angle (avec dispositif de coupe)

Le vérin hydraulique simple effet (A) contrôle le pignon baladeur permettant l'inversion du sens de rotation du rotor du dispositif de coupe par l'intermédiaire du levier (B) placé dans le boîtier de renvoi d'angle (C).

Régler la course du vérin hydraulique de la manière suivante:

S'assurer que le dispositif de coupe n'est pas en mode de fonctionnement "Inversion" car la tige du vérin (A) doit être entièrement rétractée. Voir sous "Inversion du rotor du dispositif de coupe" dans la section "Utilisation - Moniteur BaleTrak".

Décrocher le ressort (D).

Tourner le levier (B) en position d'extension jusqu'à ce qu'il arrive au contact de la butée à l'intérieur du boîtier. Lorsqu'il est dans cette position, tourner la came (E) jusqu'à ce qu'elle soit en contact avec le levier (B).

Ramener le levier (B) de 2,5 à 3 mm (0.10 à 0.12 in) et tourner la came (E) jusqu'à ce qu'elle touche à nouveau le levier (B).

Procéder de manière identique pour régler la position rétractée du levier (B) en utilisant la came (F).

Raccrocher le ressort (D).

CC007182


A-Vérin hydraulique
B-Levier
C-Renvoi d'angle
D-Ressort
E-Came
F-Came

OUCC006,000031D -28-13FEB01-1/1