Réglage du guide-ficelle (sans dispositif de coupe)

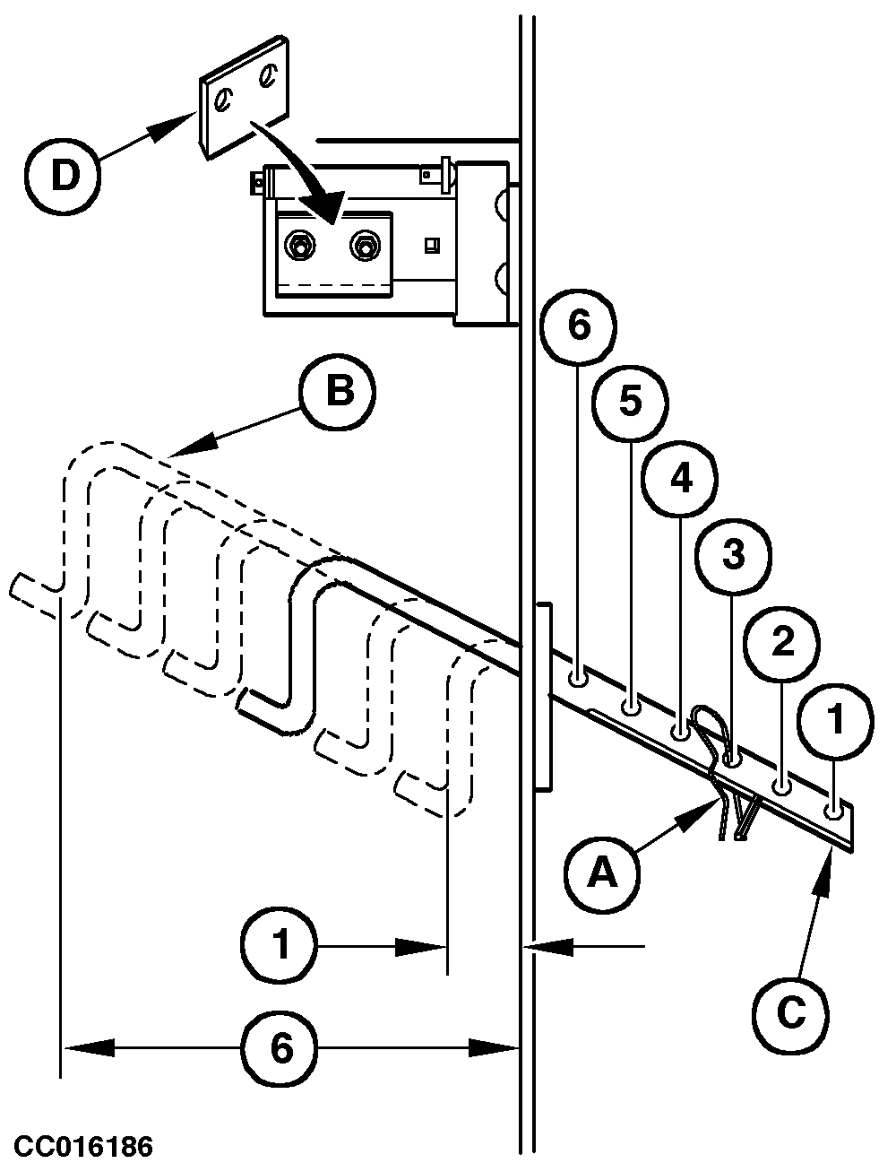
Selon le type de récolte, le guide-ficelle (B) permet au conducteur de régler la distance séparant la ficelle et l'extrémité gauche de la balle; cette distance peut être comprise entre 85 et 220 mm (3.34 à 8.66 in).

IMPORTANT: Avec moniteur BaleTrak, s'assurer que la position du guide-ficelle correspond au réglage du moniteur. Voir sous "Réglage du liage ficelle" dans la section "Utilisation - Moniteur BaleTrak".

Avec contrôleur électronique du liage, s'assurer que la position du guide-ficelle correspond au réglage du point de réextension. Voir sous "Contrôleur électronique du liage - Liage programmé" dans la section "Utilisation - Contrôle électronique du liage".

Régler le guide-ficelle de la manière suivante:

Retirer la goupille bêta (A).

Faire glisser la tige du guide-ficelle (B) de manière à aligner son alésage avec l'un des alésages (1 à 6) du tube de guidage (C).

Remettre en place la goupille bêta (A).

NOTE: En cas de ramassage de matériau sec et glissant tel que la paille ou le lin, aligner l'alésage de la tige de guidage (B) avec l'alésage intérieur (6) du tube de guidage (C).

Dans ce cas, la position du coupe-ficelle (D) doit être modifiée comme illustré.

Si la ramasseuse-presse est utilisée dans des conditions de travail normales, aligner l'alésage de la tige du guide-ficelle (B) avec l'alésage extérieur (1) du tube de guidage (C).

CC016186


A-Goupille bêta
B-Guide-ficelle
C-Tube de guidage
D-Couteau à ficelle
1-85 mm (3.34 in)
2-112 mm (4.40 in)
3-139 mm (5.47 in)
4-166 mm (6.53 in)
5-193 mm (7.59 in)
6-220 mm (8.66 in)

OUCC006,0000330 -28-15FEB01-1/1