Réglage de la course du bras de liage (sans moniteur BaleTrak)

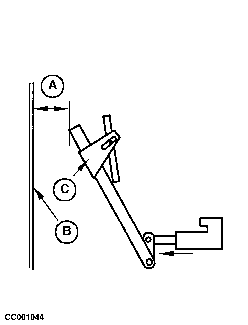
La distance (A) entre la paroi droite de la chambre à balle (B) et l'extrémité du bras de liage (C) doit être comprise entre 80 et 150 mm (3.15 à 5.90 in). Lorsqu'il retourne en position de repos, le bras de liage doit également favoriser le fonctionnement du coupe-ficelle (D), faute de quoi la ficelle n'est pas coupée.

NOTE: La distance (A) est réglée à l'usine à 100 mm (4 in).

Procéder de la manière suivante:

Amener le bras de liage le plus à droite possible au moyen du moniteur. Le vérin de déclenchement est en extension complète.

Desserrer la vis (E).

Déplacer le support de vérin (F) dans la boutonnière (G) jusqu'à obtention de la distance (A) spécifiée afin que le bras de liage favorise le fonctionnement du coupe-ficelle.

Resserrer la vis (E).

Ramener le bras de liage en position de repos et s'assurer qu'il agit bien sur le coupe-ficelle.

NOTE: Le point de réextension du bras de liage (pour les ramasseuses-presses avec contrôleur électronique du liage) est fonction du réglage décrit ci-dessus. Voir section "Utilisation - Contrôle électronique du liage".


A-80 à 150 mm (3.15 à 5.90 in)
B-Paroi droite de la chambre à balle
C-Extrémité du bras de liage
D-Coupe-ficelle
E-Vis
F-Support du vérin de déclenchement
G-Boutonnière

CC001044
CC001045

OUCC006,0000338 -28-15FEB01-1/1