Réglage des capteurs de forme de balle (sans moniteur BaleTrak)

Procéder de la manière suivante:

Fermer la porte.

Régler le galet (A) de manière à obtenir un espacement (B) de 10 mm (0.4 in) comme illustré.

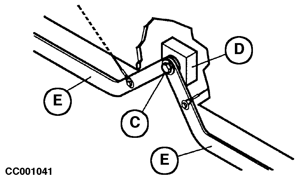
Desserrer la vis de fixation (C). Déplacer la plaque de réglage (D) dans le sens vertical et/ou horizontal de manière à placer les indicateurs de forme de balle (E) à l'horizontale.

Resserrer la vis de fixation (C) dès que les indicateurs (E) se trouvent dans la bonne position.


A-Galet
B-10 mm (0.4 in)
C-Vis
D-Plaque
E-Indicateurs de forme de balle

CC001040
CC006923
CC001041

OUCC006,0000339 -28-15FEB01-1/1