Preparación de la rotoempacadora para la TDF de 1000 r/min (empacadoras sin picador)

IMPORTANTE: Todas las rotoempacadoras con embrague de seguridad y las rotoempacadoras con embrague de excéntricas pueden ser conducidas por 1000 r/min de la TDF. Invertir para ello la posición de la caja principal de engranajes.

No accionar la rotoempacadora con una TDF de 1000 r/min, si su transmisión se halla protegida por tornillos fusibles. De lo contrario, la máquina quedará desprotegida de las sobrecargas y puede averiarse.

Invertir la posición de la caja de engranajes para cambiar de TDF de 540 r/min a 1000 r/min tal como se describe seguidamente:

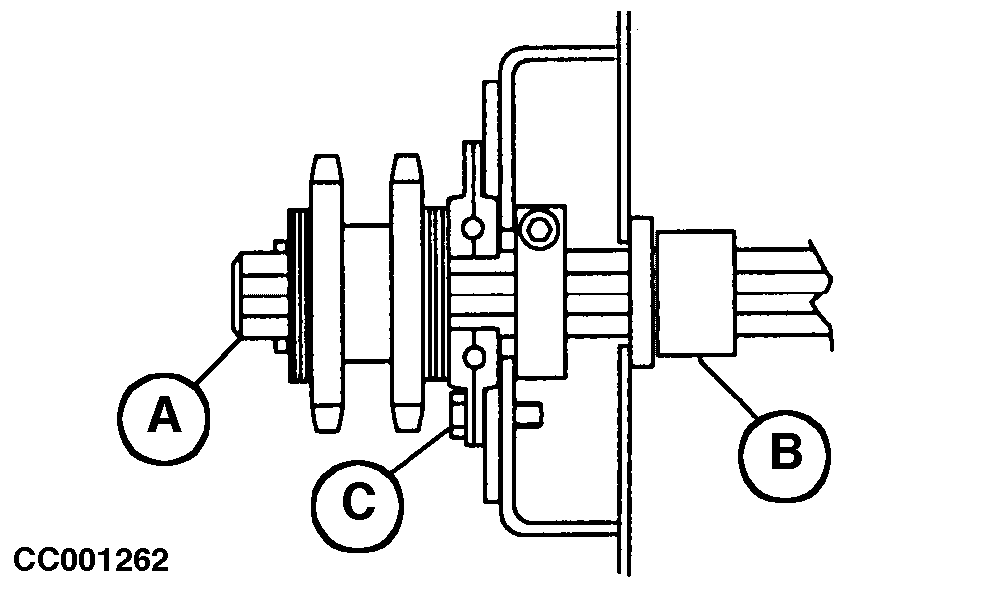
Separación del eje de accionamiento

Retirar las protecciones de la lanza.

Desconectar el eje de entrada de la caja de engranajes.

Desenganchar los eslabones de unión de la cadena de la transmisión principal (A) y de la cadena de transmisión del rodillo inferior (B).

Quitar el pasador de aletas (C), el casquillo (D), las arandelas y el piñón (E).

NOTA: Anotar la posición y el número de arandelas apiladas detrás del piñón (E).

Quitar los tres tornillos (F) del plato (G) y sacar el eje (H).

CC001256
CC001257


A-Cadenas de transmisión
B-Cadena de transmisión del rodillo inferior
C-Pasador de aletas
D-Casquillo
E-Rueda dentada
F-Tornillos
G-Placa
H-Eje

AG,OUCC006,505 -63-31AUG00-1/6


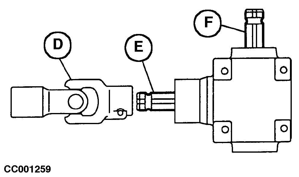
Inversión de la caja de engranajes

Quitar los dos tornillos (A) de la válvula de tensión (B).

Girar la válvula de tensión y quitar los cuatro tornillos (C) de sujeción de la caja de engranajes, separando esta a continuación.

Quitar la junta universal (D) del eje de salida (E) e instalarla en en eje de entrada (F).

Quitar la varilla de nivel (G) y el tapón de vaciado (H).

Invertir la posición de la caja de engranajes e insertar la varilla de nivel (G) en el alojamiento del tapón de vaciado y el tapón de vaciado en el alojamiento de la varilla de nivel.


A-Tornillos
B-Válvula de tensión
C-Tornillos
D-Junta universal
E-Eje de salida
F-Eje de entrada
G-Varilla de nivel
H-Tapón de vaciado

CC001258
CC001259
CC001260

AG,OUCC006,505 -63-31AUG00-2/6


Reglaje de la abrazadera de tope

Aflojar el tornillo (A) de sujeción de la abrazadera, y mover la abrazadera (B) hasta obtener la distancia (C).

Apretar el tornillo (A).

NOTA: Si fuera necesario modificar de nuevo la transmisión para TDF de 540 r/min, especificamos la distancia (C) de la abrazadera para su reglaje.


A-Tornillo
B-Abrazadera de tope
C-133±2 mm (5.23±0.078 in.) para 1000 r/min
C-173±2 mm (6.81±0.078 in.) para 540 r/min

CC001261

AG,OUCC006,505 -63-31AUG00-3/6


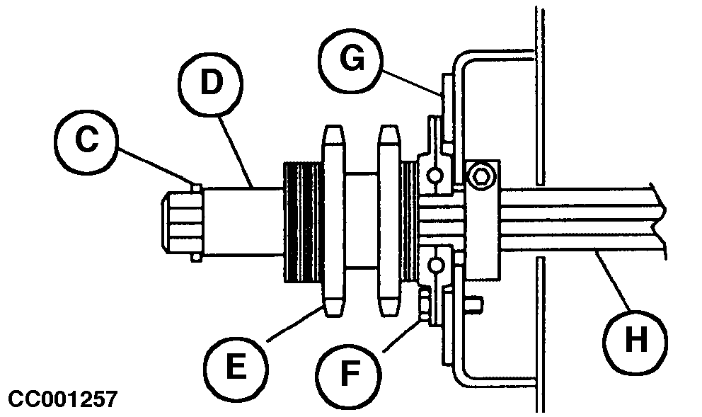
Instalación del eje de accionamiento

Instalar el plato, las arandelas (la misma cantidad montada originalmente), el piñón y el pasador de aletas en el eje (A) según se ilustra.

Instalar el casquillo (B), no usado, y las arandelas en el lado opuesto del eje (A).

Fijar el conjunto al bastidor de la rotoempacadora mediante tres tornillos (C).

CC001262

AG,OUCC006,505 -63-31AUG00-4/6


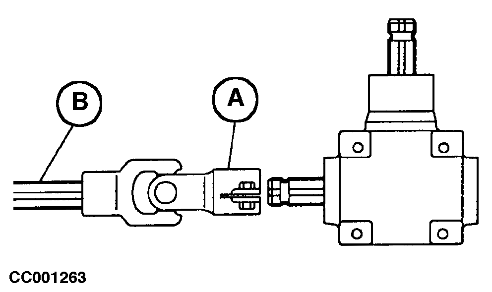
Instalación de la caja de engranajes

Instalar la caja de engranajes montando la junta universal (A) en el eje de accionamiento (B).

Fijar la caja de engranajes con cuatro tornillos. Apretarlos con un par de 95 N·m (70 ft-lb).

Asegurar la válvula de densidad de la paca con los dos tornillos.

Comprobar el nivel de aceite en el interior de la caja de engranajes. Rellenar, si fuera necesario, con el aceite especificado en "Aceite para engranajes" en la sección "Engrase y mantenimiento".

Preparar el embrague de seguridad para el funcionamiento con la TDF de 1000 r/min. Los resaltes (C) deben insertarse en la primera fila de ranuras (D), con las muescas (E) orientadas hacia el exterior del embrague de seguridad.

Preparar el embrague de seguridad para el funcionamiento con la TDF de 1000 r/min Ajustar la longitud (G) de la excéntrica (F) a 135 mm (5.31 in.).

IMPORTANTE: Prestar atención a que las distancias (X) y (Y) sean iguales después del ajuste. El reglaje inicial (G) para 540r/min es de 128 mm (5.04 in.).

Observar el sentido de giro del embrague de seguridad al proceder al montaje.


A-Junta universal
B-Eje de transmisión
C-Resaltes
D-Ranuras
E-Muescas
F-Conjunto de excéntrica de accionamiento
G-135 mm (5.31 in.)

CC001263
CC001265
CC007920
CC006859

Giro hacia la derecha

AG,OUCC006,505 -63-31AUG00-5/6


Fijación del adhesivo de 1000 r/min

Conectar el eje de transmisión al eje de entrada.

Volver a instalar las protecciones de la lanza y fijar el nuevo adhesivo de 1000 r/min como está ilustrado.

CC001264

AG,OUCC006,505 -63-31AUG00-6/6