Monitor de control electrónico de atado

El monitor de control electrónico de atado (A) permite el atado con cuerda de la paca en modo programado o manual.

Atado con cuerda de la paca en modo programado:

Para programar el atado con cuerda, proceder como sigue:

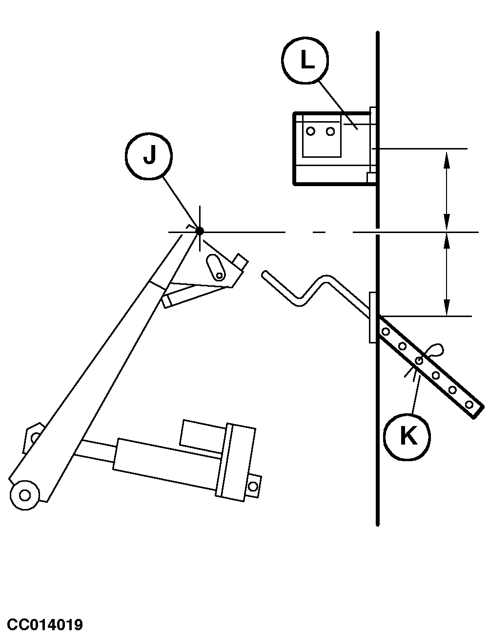
1. Con el tornillo (B), determinar el punto (J) donde el brazo de atado se extiende (antes de que regrese a su posición inicial). La extensión del brazo de atado permite enrrollar un mayor número de vueltas al finalizar el atado de la paca (por ejemplo al empacar paja).

Girar el tornillo (B) a derechas o izquierdas para ajustar la distancia entre el punto de reextensión (J) y el costado de la cámara de prensado. El punto de reextensión (J) debe encontrarse entre la guía de cuerda (K) y el cortador de cuerda (L) (ver ilustración).

NOTA: El punto de reextensión ha sido ajustado en fábrica a una distancia de 120 mm (4.72 in.).

NOTA: Los ajustes del punto de reextensión y de la guía de la cuerda deberán corresponder entre sí para evitar las interferencias. Ver "Reglaje de la guía de cuerda" en la sección "Manejo de la empacadora - Generalidades".


A-Monitor
B-Tornillo de reglaje
C-R-Potenciómetro de distribución de cuerda en lado der.
D-Potenciómetro de distribución de cuerda en parte central
E-L-Potenciómetro de distribución de cuerda en lado izq.
F-Interruptor de control
G-Tecla de inicio
H-Luz testigo de activación
I-Interruptor de control manual
J-Punto de extensión
K-Guía de cuerda
L-Cuchilla de cuerda

CC000937
CC014019

AG,OUCC006,506 -63-31AUG00-1/3


2. Elegir la secuencia de atado ajustando los potenciómetros (C)-(D)-(E) para determinar la distribución de la cuerda a lo largo de la paca.

Girar el potenciómetro (C) en sentido horario para ajustar el tiempo de parada del brazo de atado en su posición de extensión superior a un valor de 0,1 a 10 segundos.

Girar el potenciómetro (D) en sentido horario para ajustar el tiempo de atado de la paca durante la retracción del brazo de atado a un valor de 8 a 70 segundos.

Girar a la derecha el potenciómetro (E) para regular entre 0 y 5 segundos el tiempo de extensión del brazo de atado en el punto determinado por el tornillo de reglaje (B). Si el potenciómetro (E) se halla en la posición "0", el brazo de atado no se extiende.

Conectar el interruptor de conexión/desconexión (F); el monitor queda dispuesto para trabajar.

NOTA: Pulsar el botón de inicio (G) para activar el modo programado, cuando la paca no alcanza el diámetro deseado. Ver "Atado de la paca-Modo programado" en esta sección.

La luz de ciclo activo (H) queda encendida una vez pulsado el botón de inicio (G), o cuando el brazo de atado se activa automáticamente por medio del interruptor de diámetro de paca, luciendo de modo intermitente al finalizar el ciclo de atado. De ser necesario, antes de que la luz se ilumine, se puede iniciar un nuevo ciclo de atado oprimiendo el botón de inicio (G).

NOTA: El interruptor de control manual (I) puede utilizarse, en cualquier momento, para interrumpir el modo programado. El modo manual queda listo para ser utilizado. Ver "Modo de atado manual con cuerda" en esta sección.

NOTA: El nivel sonoro de la alarma es regulable.

CC000937


A-Monitor
B-Tornillo de reglaje
C-R-Potenciómetro de distribución de cuerda en lado der.
D-Potenciómetro de distribución de cuerda en parte central
E-L-Potenciómetro de distribución de cuerda en lado izq.
F-Interruptor de control
G-Tecla de inicio
H-Luz testigo de activación
I-Interruptor de control manual

AG,OUCC006,506 -63-31AUG00-2/3


Modo de atado de cuerda manual:

Poner el interruptor de control (B) en ON.

Utilizar el interruptor de control manual (C) para distribuir la cuerda sobre la paca. Ver "Atado de la paca-Modo manual" en esta sección.

IMPORTANTE: El monitor está protegido por un ruptor. Si se activa el interruptor de control (C) con el disparador del brazo de atado totalmente extendido o retraído, el ruptor cortará el circuito. En dicho caso, esperar unos segundos para que se enfríe el ruptor, y volver a activarlo, desconectando y volviendo a conectar el interruptor de control.


A-Monitor
B-Interruptor de control
C-Interruptor de control manual

CC000870

AG,OUCC006,506 -63-31AUG00-3/3