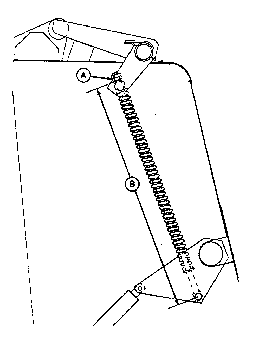
Reglaje del muelle del brazo superior de correa (580 o 590 sin picador)

Si se ha cambiado el muelle o si se ha desenroscado las contratuercas, ajustar el muelle como sigue:

Cerrar el portón y bajar el brazo tensor de correa.

Ajustar las contratuercas (A) hasta que la medida (B) sea de 973 ± 1,5 mm (38.30 ± 0.06 in.) en la rotoempacadora 590 y de 690 ± 1,5 mm (27.16 ± 0.06 in.) en la 580.

E36256

CC03745,00001D1 -63-08NOV00-1/1