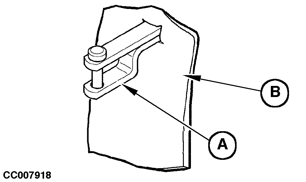
Utilización del deflector de la barra de tiro

En el caso de que la barra de tiro (A) arrastre y deshaga los cordones de material cuando pasan debajo del tractor, puede utilizarse un deflector de paja (B) en la barra de tiro.

CC007918

CC,570RB003439 -63-15SEP98-1/2


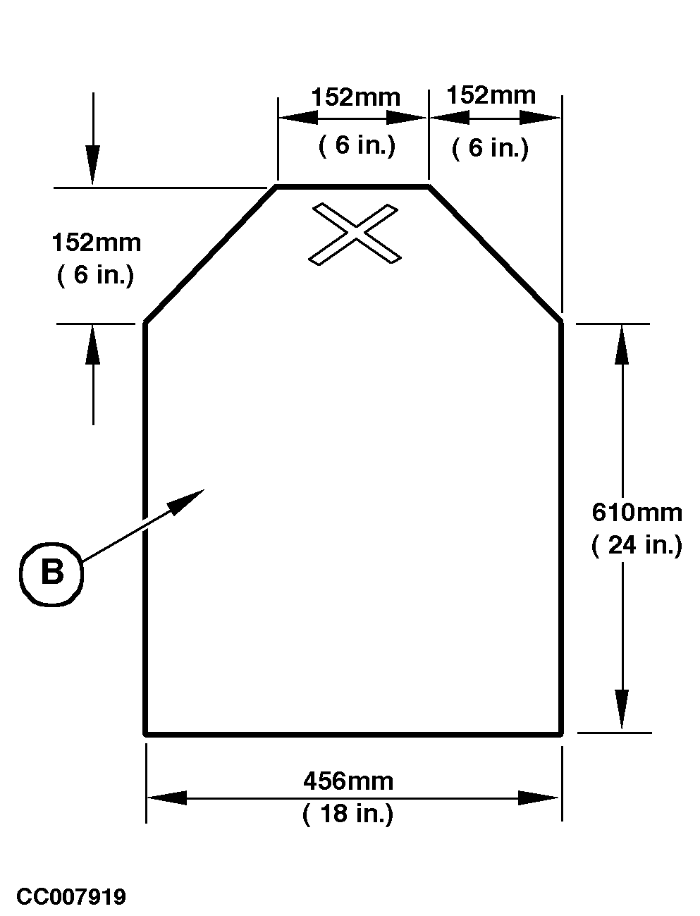
Preparar un deflector según se ilustra utilizando correas de 2 o 4 lonas.

CC007919

CC,570RB003439 -63-15SEP98-2/2