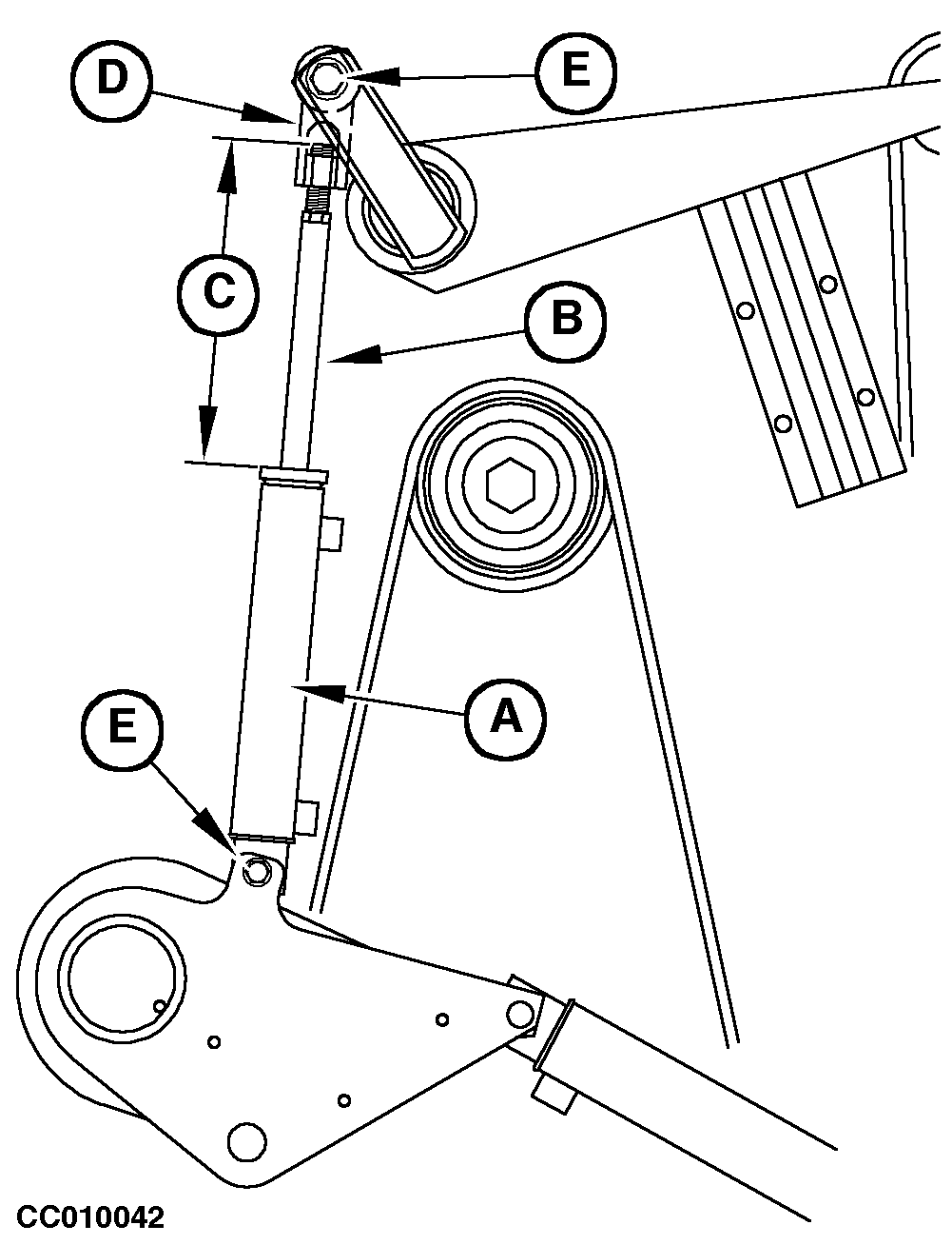
Reglaje del cilindro del brazo superior (sólo 580)

Si se ha cambiado el cilindro (A), ajustarlo como sigue:

Cerrar el portón y bajar el brazo tensor de correa.

Extraer el vástago (B), hasta que se alcance la medida (C):

  • 261 mm (10.27 in.) en la rotoempacadora 580 hasta el no. serie 318481
  • 255 mm (10.27 in.) en la rotoempacadora 580 desde el no. serie 318482

Instalar la brida (D) y apretar de forma que resulte posible insertar los tornillos de fijación (E) del cilindro.


A-Cilindro hidráulico
B-Vástago del cilindro
C-261 mm (10.27 in.) hasta el n° serie 318481; 255 mm (10.04 in.) dsesde el n° serie 318482
D-Brida
E-Tornillos de fijación

CC010042

CC,570RB003901 -63-01SEP98-1/1