Acoplamiento de la rotoempacadora a la barra de tiro

Para adaptarse a todas las condiciones de enganche, es posible ajustar la lanza en la articulación del enganche o en la articulación de la base de la lanza.

Ajustar la barra de tiro del tractor según se describe en "Reglaje de la barra de tiro" en la sección "Preparación del tractor".

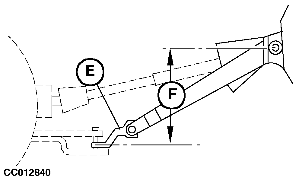
Aflojar las contratuercas (B) y después las tuercas de fijación (A) de la lanza y el tornillo de fijación (C) del enganche de rótula de manera de forma que se pueda girar con la mano el bastidor (D) de la lanza y el enganche de rótula (E) hasta la posición correcta.

Colocar el enganche de rótula (E) lo más horizontal posible.

Apretar las tuercas de fijación (A) de la lanza a 700 N·m (516 lb-ft), las contratuercas (A) a 300 N·m (221 lb-ft) y el tornillo (C) a 620 N·m (450 lb-ft).


A-Tuercas de fijación de la lanza
B-Contratuercas
C-Tornillo de fijación del enganche de rótula
D-Bastidor de la lanza
E-Enganche de rótula
F-máximo 700 mm (27.56 in.)

CC007934
CC000962
CC006710
CC012840

CC,570RB004003 -63-15SEP98-1/2


NOTA: Al apretar el tornillo (C) y las tuercas (A) y (B), asegurarse que todas las puntas de los anillos de reglaje queden enganchadas correctamente (las puntas no deben quedar frente a frente).

IMPORTANTE: Hacer una prueba breve de modo lento y cuidadoso con la empacadora conectada al tractor y comprobar al circular en curvas cerradas que no haya ningún contacto entre el bastidor (D) de la lanza y la conexión. En caso contrario se pueden causar daños considerables a la conexión.

Para evitar la posibilidad de problemas de alimentación del recogedor, siempre intentar mantener la máquina lo más nivelada horizontalmente como sea posible.

La desviación máxima (F) permitida entre la articulación de la base de la lanza y el enganche de rótula (E) es de 700 mm (27.56 in.). De ser necesario, ajustar la posición de la lanza y del enganche de rótula de forma adecuada.

NOTA: Las empacadoras se sirven de fábrica con la lanza en la posición para conexión a una barra de tiro.

CC,570RB004003 -63-15SEP98-2/2