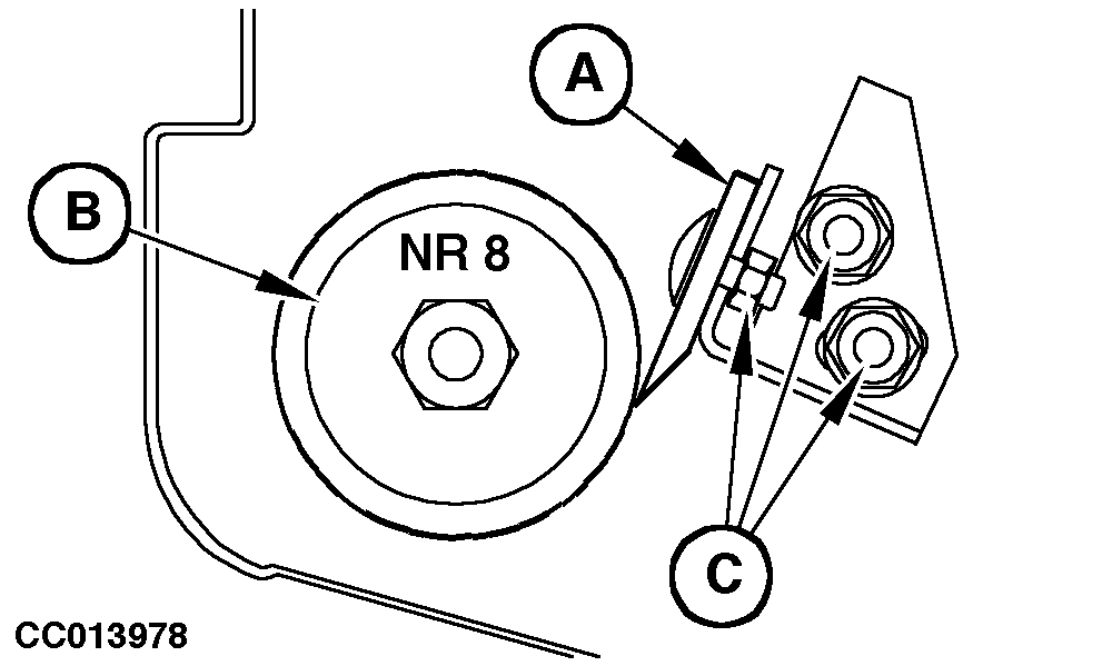
Reglaje del rascador del rodillo inferior del portón (No.8)

Aflojar los tornillos (C) y ajustar el rascador (A).

Ajustar el rascador (A) de forma que esté en contacto con el rodillo No.8 (B).

Apretar los tornillos de fijación (C) con 55 N·m (40 lb-ft).

IMPORTANTE: Asegurar que el rascador (A) está en contacto con el rodillo No.8 en toda su longitud.

CC013978

CC,570RB004257 -63-01SEP98-1/1