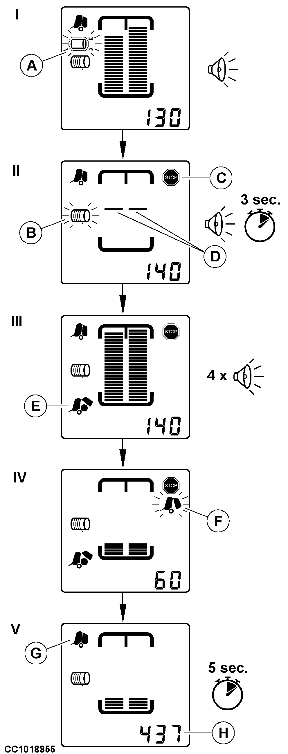
Inicio del atado automático

I - Poco antes de alcanzar la paca el diámetro determinado, el pictograma de paca casi llena (A) aparece intermitentemente y el monitor suena dos veces. El diámetro en el que se dispara la alarma de paca casi llena es ajustable, ver "Canal 10: Ajuste de la alarma de paca casi llena" en esta sección.

II - Cuando se alcanza el diámetro de paca preiamente determinado, el monitor suena continuamente durante 3 y aparece el indicador de parada (C). Detener el tractor de inmediato. El pictograma de red o cuerda (B) se activa intermitentemente (según el modo de atado seleccionado) y el atado comienza.

para empacadora equipada con sensor de polea de cuerda: Si está seleccionado el atado con cuerda, las barras (D) indican que las cuerdas están atando la paca. Si las bobinas de cuerda se terminan, el indicador de parada (C) se activa de forma intermitente y se emite una alarma sonora continua.

III - Al finalizar el ciclo de atado, aparece el pictograma de descarga de paca (E) y el monitor suena cuatro veces.

IV - Para descargar la paca, abrir el portón de la empacadora con la válvula de mando a distancia del tractor. El pictograma de portón abierto (F) luce de forma intermitente cuando el portón está abierto.

V - Cuando el portón se cierra, el pictograma de portón cerrado (G) aparece, y el contador de pacas activo (H) luce durante 5 segundos. El monitor queda preparado para formar otra paca.


A-Pictograma de paca casi llena
B-Pictograma de cuerda
C-Indicador de parada
D-Información del sensor de cuerda
E-Pictograma de descarga de paca
F-Pictograma de portón abierto
G-Pictograma de portón cerrado
H-Contador diario

CC1018855

OUCC006,00002C4 -63-05DEC00-1/1