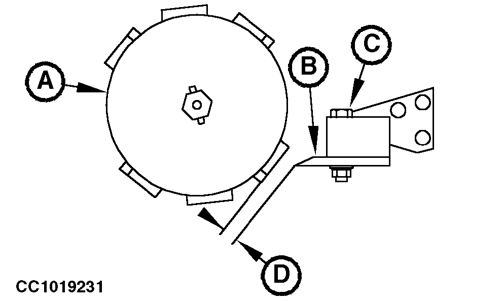
Reglaje del rascador del rodillo de inicio de paca (no.1) (empacadoras sin picador)

En condiciones muy húmedas o al empacar ensilado, aproximar el rascador (A) todo lo posible al rodillo de inicio de paca (B), dejando espacio suficiente (C) para evitar el contacto con el rodillo.

Aflojar los tornillos (D) y ajustar la distancia (C).

Apretar los tornillos (D) con 140 N·m (103 lb-ft).

NOTA: Al utilizar barras cubiertas de goma o medios rodillos de goma, alejar el rascador (A) del rodillo de inicio de paca (B).

CC1019231


A-Rascador
B-Rodillo de inicio de paca
C-Distancia
D-Tornillos de montaje

OUCC006,00002DE -63-01FEB01-1/1