Instalación del soporte de los monitores BaleTrak o de control electronico de atado (solo tractores series 6000, 7000 y 8000)

Quitar los dos tapones superiores del poste de cabina inferior derecho.

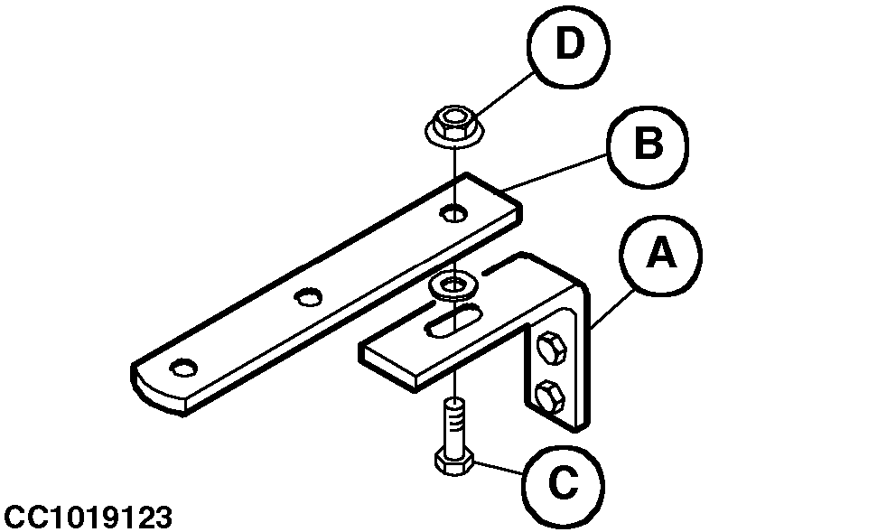
Instalar la escuadra (A) en el poste. Sujetarla con dos tornillos de brida M10x20.

Instalar la brida del monitor (B) en la escuadra (A). Sujetarla con el tornillo M10x35 (C), arandela y tuerca de brida (D).

Instalar el monitor en la brida del monitor (B).


A-Escuadra
B-Brida del monitor
C-Tornillo
D-Tuerca de brida

CC000836
CC1019123

OUCC006,00002E8 -63-06FEB01-1/1