Comprobación del interruptor de paca sobremedida (con monitor BaleTrak o control electronico de atado)

Cerrar el portón.

Cerrar y bloquear el portón (sólo 590).

Con la válvula de mando a distancia del tractor, elevar el brazo tensor hasta el tope superior.

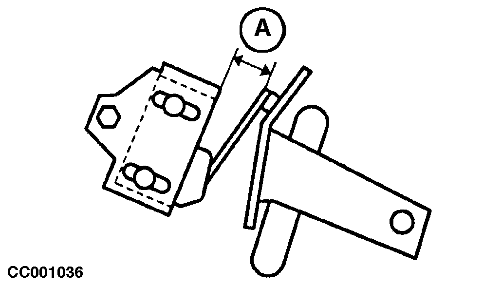
Desplazar el rodillo del interruptor en la rampa según se ilustra.

La separación (A) entre el brazo del interruptor y el cuerpo del interruptor debería ser de 1 a 2 mm (0.04 a 0.08 in.).

En empacadoras con monitor BaleTrak:

Conectar el monitor (en modo de atado normal).

Comprobar que se visualiza en la pantalla del monitor el pictograma de paca sobremedidad y que suena el zumbador estando la palanca del interruptor de paca sobremedida en esta posición.

Rotoempacadoras con monitor de control electrónico de atado:

Comprobar que suena el zumbador estando el interruptor de paca sobremedida en esta posición.

Volver a hacer el reglaje, si fuera necesario.

CC001036

Se ilustra rotoempacadora 590

CC1019212


A-1 a 2 mm (0.04 a 0.08 in.)
B-Alarma de sobremedida

OUCC006,000031B -63-13FEB01-1/1