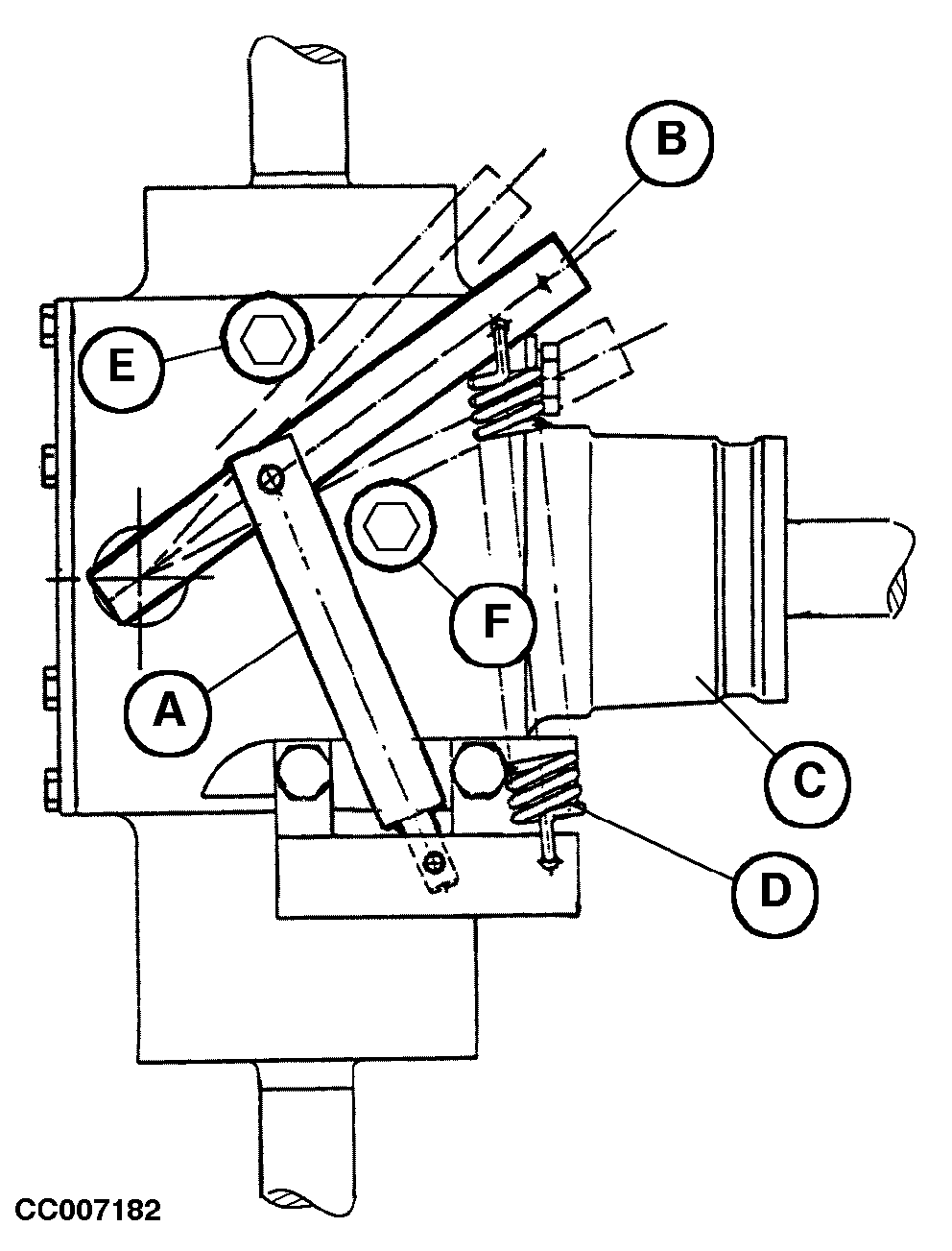
Reglaje del cilindro hidráulico de la caja de engranajes (sólo rotoempacadoras con picador)

El cilindro hidráulico de acción sencilla (A) utiliza la palanca (B) en la caja de engranajes (C) para controlar el engranaje deslizante, con el fin de cambiar el sentido de marcha del rotor del picador.

Regular la carrera del cilindro hidráulico de la siguiente manera:

Comprobar que el picador no se encuentre en modo de funcionamiento inverso, puesto que el vástago (A) del cilindro hidráulico debe estar totalmente retraído. Ver "Inversión del rotor del picador" en la sección "Manejo con monitor de control BaleTrak".

Soltar el muelle (D).

Mover la palanca (B) a la posición de extensión hasta que toque su tope interno en la caja de engranajes. Cuando está en esta posición, girar el disco excéntrico (E) hasta que toque la palanca (B).

Mover la palanca (B) hacia afuera aprox. 2,5 a 3 mm (0.10 a 0.12 in.) y girar el disco excéntrico (E) hasta que vuelva a tocar la palanca (B).

Utilizar un procedimiento similar para ajustar la posición de retracción de la palanca (B), usando el disco excéntrico (F).

Volver a instalar el muelle tensor (D).

CC007182


A-Cilindro hidráulico
B-Palanca
C-Caja de engranajes
D-Muelle
E-Disco excéntrico
F-Disco excéntrico

OUCC006,000031D -63-13FEB01-1/1