Reglaje del recorrido del brazo de atado (empacadora con monitor de control BaleTrak)

El recorrido del brazo de atado se ajusta mediante los mandos del monitor de control BaleTrak. Pero después de sustituir, reparar o ajustar el brazo de atado o el actuador del brazo de atado, resulta necesario ajustar correctamente la posición extrema superior del brazo de atado antes de iniciar el recorrido del brazo de atado en combinación con el monitor de control BaleTrak.

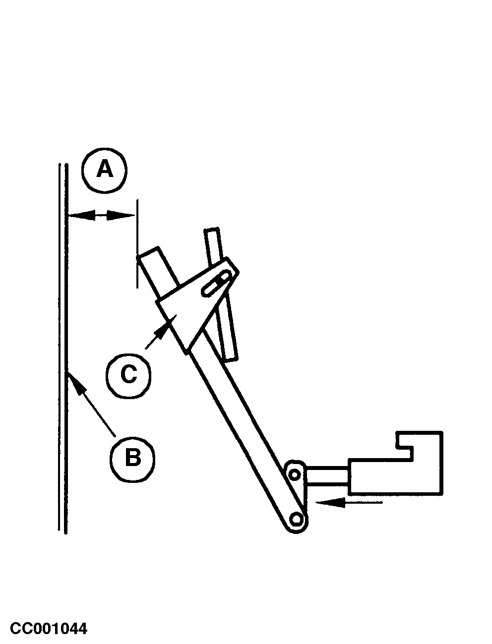
Debe existir una distancia (A) de 80 mm (3.15 in.) entre el panel derecho de la cámara de prensado (B) y el extremo del brazo de atado (C) estando el actuador extendido por completo. El brazo de atado también debe ejercer una fuerza positiva sobre el varillaje (D) de la cuchilla de cuerda cuando regresa a su posición inicial, de lo contrario, la cuerda no se cortará.

Proceder como sigue:

Mediante el monitor de control desplazar el brazo de atado a su posición extrema derecha. El actuador se halla totalmente extendido.

Aflojar el tornillo (E).

Desplazar el soporte del actuador (F) por la ranura (G) hasta obtener la distancia (A) especificada y una actuación eficaz sobre el varillaje del cortacuerda.

Apretar el tornillo (E).

Poner el brazo de atado en su posición inicial y comprobar que el mismo acciona el varillaje de la cuchilla de cuerda de modo confiable.


A-80 mm (3.15 in.)
B-Panel derecho de la cámara de prensado
C-Extremo del brazo de atado
D-Varillaje de la cuchilla de cuerda
E-Tornillo
F-Soporte del actuador
G-Ranura de ajuste

CC001044
CC001045

OUCC006,0000320 -63-14FEB01-1/1