Reglaje de la guia de cuerda (empacadoras sin picador)

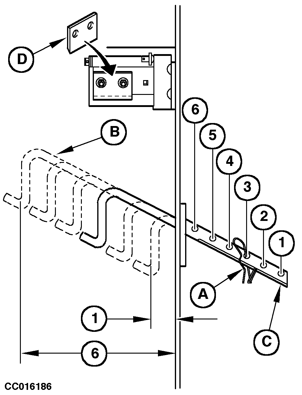
Dependiendo del tipo de material, la guía de cuerda (B) permite al operario el reglaje de la distancia de la cuerda al extremo izquierdo de la paca de 85 a 220 mm (3.34 a 8.66 in.).

IMPORTANTE: En las empacadoras con monitor de control BaleTrak, prestar atención a que la posición de la guía de cuerda corresponda al reglaje del monitor. Ver "Ajuste del atador de cuerda" en la sección "Manejo del monitor BaleTrak".

En empacadoras con monitor de control de atado electrónico, comprobar que las posiciones de las guías de cuerda se corresponden con el ajuste del punto de extensión. Ver "Monitor de control de atado electrónico-Modo programado" en la sección "Manejo del control de atado electrónico".

Ajustar la guía de cuerda como sigue:

Quitar el pasador de seguridad (A).

Alinear el agujero de la varilla de la guía de cuerda (B) con uno de los agujeros de reglaje (1-2-3-4-5-6) del tubo de guiado de cuerda (C).

Reinstalar el pasador de seguridad (A).

NOTA: Al empacar material seco y resbaladizo, como paja de cereales o lino, alinear el agujero de la varilla de la guía de cuerda (B) con el agujero interior (6) del tubo de guiado (C).

En este caso se debe poner la cuchilla de cuerda (D) en la posición indicada.

Al empacar en condiciones normales, alinear el agujero de varilla de la guía de cuerda (B) con el agujero exterior (1) del tubo de guiado de cuerda (C).

CC016186


A-Pasador de resorte
B-Guía de cuerda
C-Tubo de guiado de cuerda
D-Cuchilla de cuerda
1-85 mm (3.34 in.)
2-112 mm (4.40 in.)
3-139 mm (5.47 in.)
4-166 mm (6.53 in.)
5-193 mm (7.59 in.)
6-220 mm (8.66 in.)

OUCC006,0000330 -63-15FEB01-1/1