Reglaje de los sensores de forma de paca (rotoempacadora sin monitor de control BaleTrak)

Ajustar los sensores de forma de la paca de la manera siguiente:

Cerrar el portón.

Ajustar el rodillo (A) hasta obtener una separación (B) de 10 mm (0.4 in.) (ver ilustración adjunta).

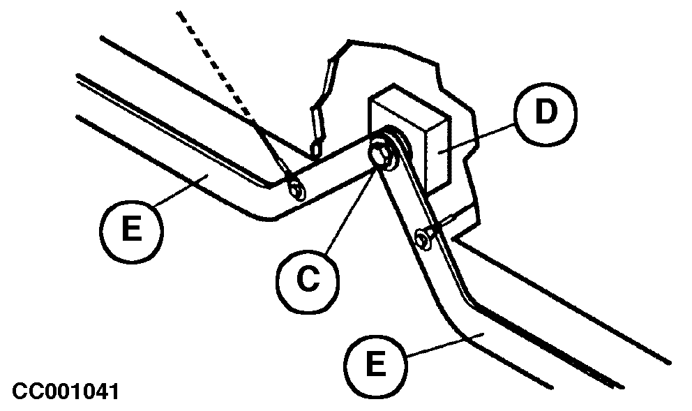
Aflojar el tornillo de fijación (C). Desplazar la placa de reglaje (D) hacia arriba o hacia abajo y/o hacia la derecha o hacia la izquierda para posicionar los sensores de forma de la paca (E) horizontalmente.

Una vez ajustados los sensores de forma de la paca (E) correctamente, volver a apretar el tornillo de fijación (C).


A-Rodillo
B-10 mm (0.4 in.)
C-Tornillo
D-Placa
E-Indicadores de forma de la paca

CC001040
CC006923
CC001041

OUCC006,0000339 -63-15FEB01-1/1