Working and Storage Positions of Swing-Away Multi-Function Lever

1. 6000 and 6010 Tractor Series with Multi-Function lever and POWRQUAD Transmission and right-hand reverser

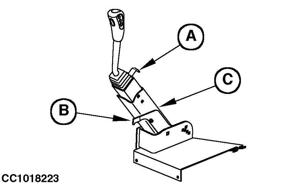
To improve access through the right-hand door when the loader is detached, the lever has a storage position feature.

To set the lever in storage position:

a. Push on lock (A) while the lever is in neutral position to secure the lever.

b. Pull the latch (B) to the left to unlock the lever support and simultaneously swing support (C) to the back.

Before attaching the loader, set support (C) in working position.

Check that the lever support is properly locked to the front in working position.

CC1018222
CC1018223


A-Lock
B-Latch
C-Lever support

AG,OUCC006,493 -19-24JAN03-1/3


2. 6000 and 6010 Series Tractors with Integrated Lever

To improve access through the right-hand door when the loader is detached, the lever can be swung away.

To swing the lever away:

a. Lock the lever.

b. Rotate control knob (A) and swing lever out of the way.

Before attaching a loader, swing lever back to working position.

Check that the lever is properly locked in working position.


A-Swing-away lever knob

CC000605

AG,OUCC006,493 -19-24JAN03-2/3


3. 3000, 3010, 5000 Series Tractors.

To improve access through the right-hand door when the loader is detached, set the lever support in storage position.

To swing the lever:

a. Push on lock (A) while the lever is in neutral position to secure the lever.

b. Pull the latch (B) to the left to unlock the lever support and simultaneously swing support (C) to the front.

Before attaching the loader, swing support (C) back to working position.

Check that the lever support is properly locked.

CC1018224


A-Lock
B-Latch
C-Lever support

AG,OUCC006,493 -19-24JAN03-3/3