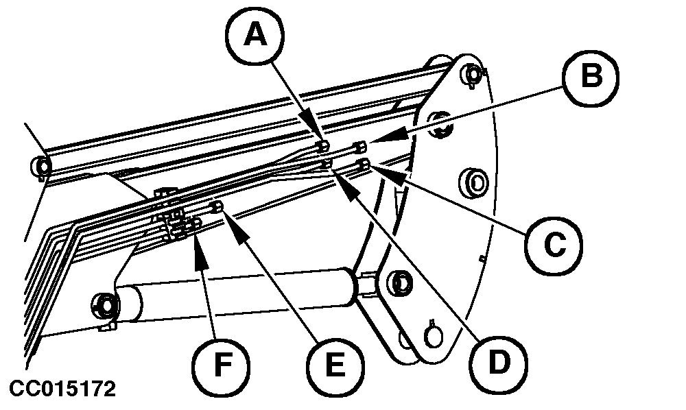
Identifying Hose Connections on 531, 551, 631, 651, 661, 731 and 751 Loaders

causym CAUTION: Help prevent personal injury caused by unexpected loader movement. Anticipated loader movement responds to control lever only if hoses are connected to tractor as shown.

Hose connections are identified by color coded dust covers. Colored plugs are installed on the mid-mounting individual-couplers at loader predelivery. Corresponding colored caps are installed on loader hose ends.

Use following chart to identify hoses and replace missing colored dust covers:

Function Colored Covers
A- Rod-end bucket cylinders... Black
B- Head-end implement cylinders... Orange
C- Rod-end implement cylinders... Green
D- Head-end bucket cylinders... Yellow
E- Head-end lift cylinders... Blue
F- Rod-end lift cylinders... Red

 

CC015172


A-Black
B-Orange
C-Green
D-Yellow
E-Blue
F-Red

CC03745,000051C -19-08SEP03-1/1