Every 50 Hours - Check Mounting Frame Hardware (6000, 6010 and 6020 Series Tractor)

IMPORTANT: Help prevent damage to the tractor or loader caused by operating with loose mounting hardware. Tighten loader mounting frame hardware every 50 hours.

On 4 cylinder series tractors

Tighten all M20 screws (A) on each frame to 540 N·m (400 lb-ft) torque.

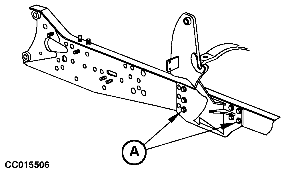
On 6 cylinder series tractors

Tighten all M20 screws (A) on each frame to 620 N·m (460 lb-ft) torque.


A-M20

CC015458

4 Cylinder series tractors

CC015506

6 Cylinder series tractors

OUCC006,00003FE -19-16MAY01-1/1